Качественные детали и логистика
Оригинальные и аналоговые запчасти с доставкой по России, Казахстану и Беларуси
©2022 PartSell ООО "Система" ИНН 2463123282 ОГРН 1212400004838
Центральный офис: г. Красноярск, Академика Киренского, д.87, пом.4
Телефон: 8 (800) 777-65-74 Email: zakaz@partsell.ru
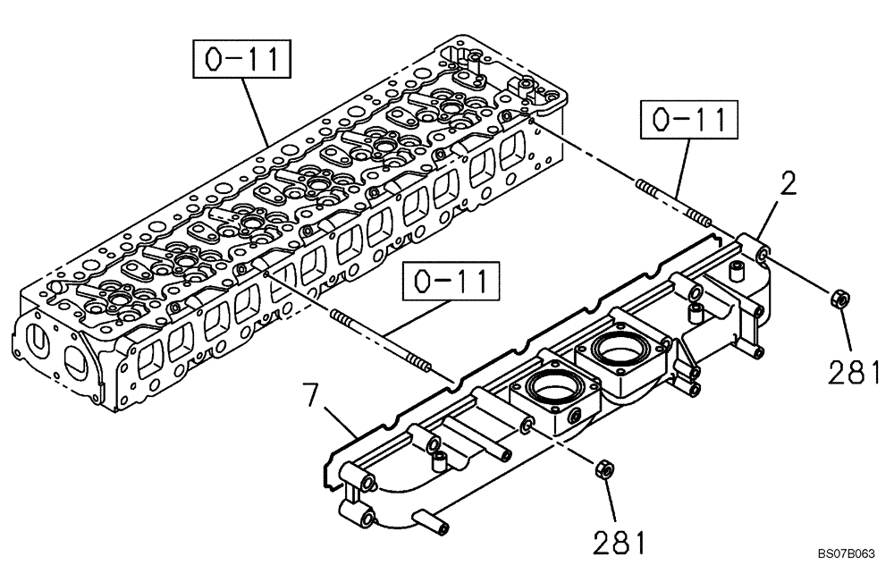
(02-22) - INTAKE PIPE
№
Артикул
Название
Примечание
Количество
0-11
REF
INSTRUCTION
See Figure 02-11
1шт.
2
87603406
COVER
7
87603408
GASKET
281
87596885
NUT
14шт.
Выбрано товаров: 0