Запчасти Case CX460 (04-10) - LAMP, WORK (04) - ELECTRICAL SYSTEMS

Схема запчастей Case CX460 - (04-10) - LAMP, WORK (04) - ELECTRICAL SYSTEMS
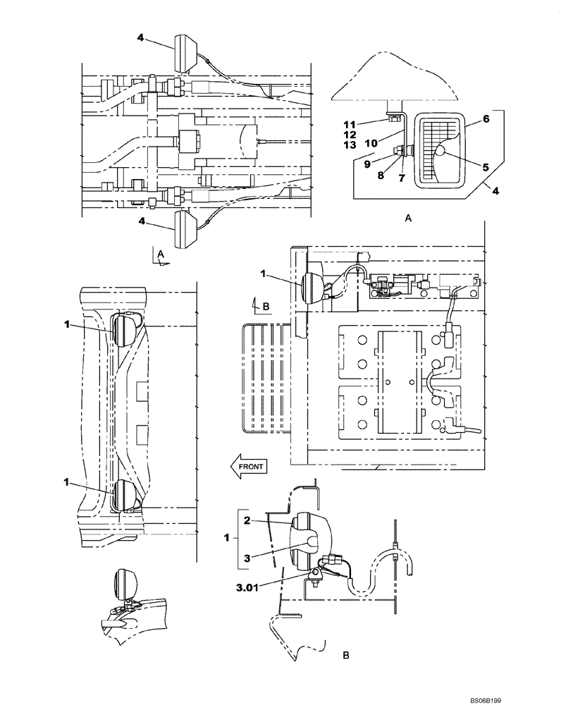
4
9
7
3.01
11
12
1
13
3
10
1
6
8
4
1
4
1
2
5
FIT
1:1
100%

Артикул

Название

Примечание

Количество

1

KHR2475

WORK LAMP

Incl. 2, 3

3шт.

2

KHR2476

WORK LAMP

1шт.

3

KHR2477

BULB

1шт.

3.01

KHN0539

WASHER

2шт.

4

159598A1

PORTABLE LAMP

Incl. 5 - 9

2шт.

5

152812A1

BULB

1шт.

6

159615A1

LIGHT

1шт.

7

896-11014

WASHER,15.5mm ID x 28mm OD x 3mm Thk

1шт.

8

892-16014

LOCK WASHER,M14, Hvy

1шт.

9

167034A1

NUT

1шт.

10

150834A1

BRACKET

2шт.

11

627-16035

BOLT,Hex, M16 x 2 x 35mm, Cl 10.9, Full Thd

2шт.

12

892-11016

LOCK WASHER,16.4mm ID x 27.4mm OD x 5mm Thk

2шт.

13

896-11016

WASHER,17.5mm ID x 30mm OD x 4mm Thk

2шт.

Выбрано товаров: 14