Запчасти Case CX700 (08-030-00[01]) - HYDRAULIC CIRCUIT - HAND CONTROL PILOT (WITHOUT VALVE, PRESSURE RELIEF) (08) - HYDRAULICS

Схема запчастей Case CX700 - (08-030-00[01]) - HYDRAULIC CIRCUIT - HAND CONTROL PILOT (WITHOUT VALVE, PRESSURE RELIEF) (08) - HYDRAULICS
66
66
67
70
68
164
153
65
68
152
FIT
1:1
100%

Артикул

Название

Примечание

Количество

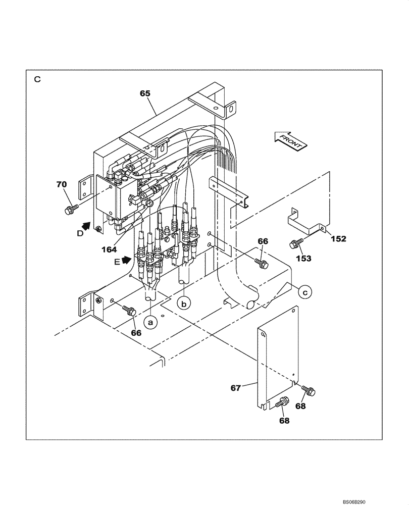
65

KWJ0066

SUPPORT

1шт.

66

166352A1

BOLT

M12 x 30

3шт.

67

KTJ2108

COVER

1шт.

68

166052A1

BOLT

M10 x 25

4шт.

70

166052A1

BOLT

M10 x 25

2шт.

152

159040A1

CLAMP

1шт.

153

166350A1

BOLT

M8 x 20

2шт.

164

150071A1

MOUNTING CLIP

380 mm

1шт.

Выбрано товаров: 8