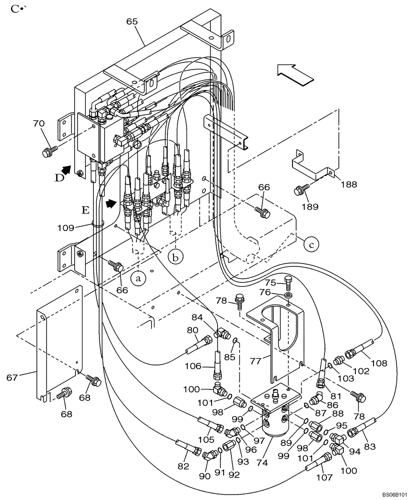
Запчасти Case CX700 (08-031-00[01]) - HYDRAULIC CIRCUIT - HAND CONTROL PILOT (WITH VALVE, PRESSURE RELIEF) (08) - HYDRAULICS

Схема запчастей Case CX700 - (08-031-00[01]) - HYDRAULIC CIRCUIT - HAND CONTROL PILOT (WITH VALVE, PRESSURE RELIEF) (08) - HYDRAULICS
68
89
98
100
106
88
101
96
76
105
81
97
66
100
109
102
78
82
95
99
70
189
85
83
67
101
188
98
68
94
80
78
107
92
74
99
77
84
86
66
87
75
91
90
103
65
93
108
FIT
1:1
100%

Артикул

Название

Примечание

Количество

65

KWJ0066

SUPPORT

1шт.

66

166352A1

BOLT

M12 x 30

3шт.

67

KTJ2108

COVER

1шт.

68

166052A1

BOLT

M10 x 25

4шт.

70

166052A1

BOLT

M10 x 25

2шт.

74

KHJ2184

VALVE

See Figure 08-274-00

1шт.

75

167836A1

BOLT,High Strength, M10 x 25mm

2шт.

76

150409A1

WASHER

2шт.

77

KHJ12800

SUPPORT

1шт.

78

166052A1

BOLT

3шт.

80

KHJ1165

HYDRAULIC HOSE,9.52 mm ID x 850.00 mm

1шт.

81

166164A1

HYDRAULIC HOSE,9.50 mm ID x 1350.00 mm

1шт.

82

KHJ1234

HYDRAULIC HOSE,19.05 mm ID x 1000.00 mm

1шт.

83

166164A1

HYDRAULIC HOSE,9.50 mm ID x 1350.00 mm

1шт.

84

153559A1

ELBOW

Incl. 85

1шт.

85

154467A1

O-RING,10.8mm ID x 2.4mm Width

1шт.

86

161087A1

ELBOW

Incl. 87

1шт.

87

154467A1

O-RING,10.8mm ID x 2.4mm Width

1шт.

88

KHJ1584

UNION

Incl. 89

1шт.

89

154467A1

O-RING,10.8mm ID x 2.4mm Width

1шт.

90

157584A1

ELBOW

Incl. 91

1шт.

91

154475A1

O-RING

1шт.

92

KHJ1584

UNION

Incl. 93

1шт.

93

154467A1

O-RING,10.8mm ID x 2.4mm Width

1шт.

94

150916A1

ELBOW,90 Degree, 3/8" O-Ring x 3/8"

Incl. 95

1шт.

95

154475A1

O-RING

1шт.

96

161087A1

ELBOW

Incl. 97

1шт.

97

154467A1

O-RING,10.8mm ID x 2.4mm Width

1шт.

98

KHJ1584

UNION

Incl. 99

2шт.

99

154467A1

O-RING,10.8mm ID x 2.4mm Width

1шт.

100

150916A1

ELBOW,90 Degree, 3/8" O-Ring x 3/8"

Incl. 101

2шт.

101

154475A1

O-RING

1шт.

102

152747A1

ADAPTER

Incl. 103

1шт.

103

154467A1

O-RING,10.8mm ID x 2.4mm Width

1шт.

105

KHJ1307

HYDRAULIC HOSE,19.05 mm ID x 600.00 mm

1шт.

106

KHJ1740

HYDRAULIC HOSE

1шт.

107

167871A1

HYDRAULIC HOSE,19.00 mm ID x 700.00 mm

1шт.

108

KHJ1063

HYDRAULIC HOSE,9.52 mm ID x 1500.00 mm

1шт.

109

150496A1

MOUNTING CLIP

2шт.

188

159040A1

CLAMP

1шт.

189

166350A1

BOLT

M8 x 20

2шт.

Выбрано товаров: 41