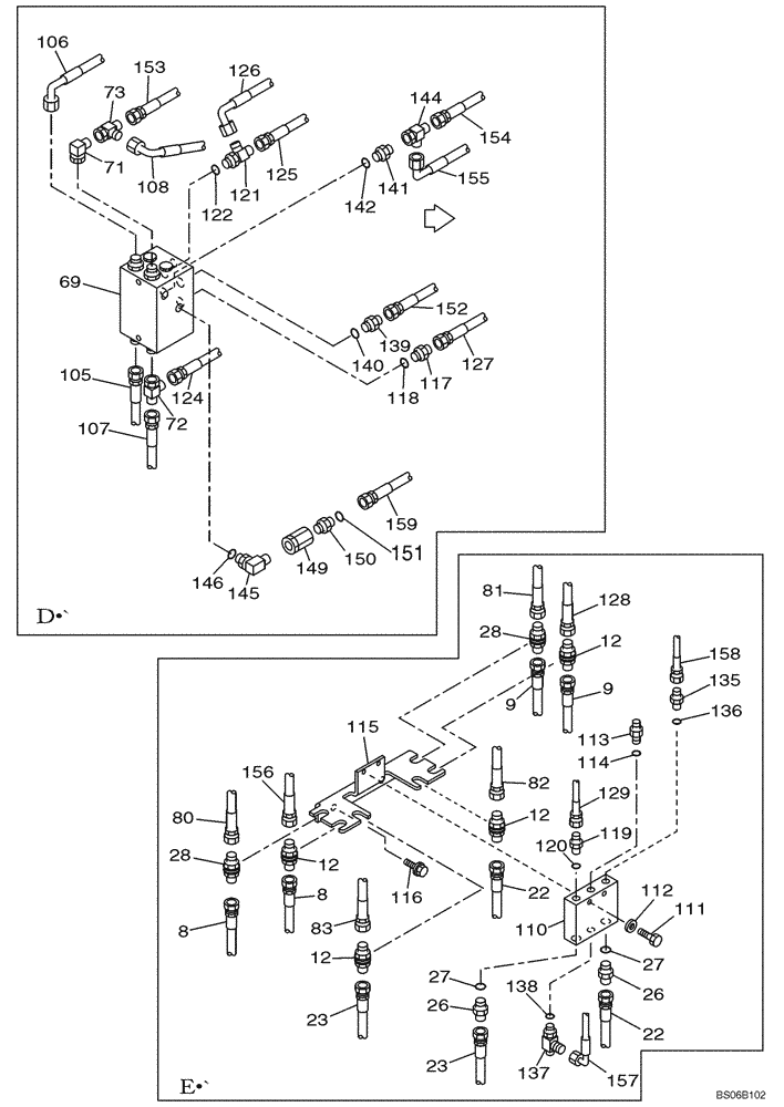
Запчасти Case CX700 (08-031-01[01]) - HYDRAULIC CIRCUIT - HAND CONTROL PILOT (WITH VALVE, PRESSURE RELIEF) (08) - HYDRAULICS

Схема запчастей Case CX700 - (08-031-01[01]) - HYDRAULIC CIRCUIT - HAND CONTROL PILOT (WITH VALVE, PRESSURE RELIEF) (08) - HYDRAULICS
149
108
121
73
8
118
129
106
153
82
28
116
105
27
107
119
8
141
110
83
157
124
23
158
144
117
125
151
135
137
128
12
146
150
9
12
159
26
12
111
142
139
72
80
155
114
154
152
138
136
28
23
26
156
112
71
12
69
27
120
127
81
22
140
126
115
145
113
9
22
122
FIT
1:1
100%

Артикул

Название

Примечание

Количество

8

KRJ4336

HYDRAULIC HOSE,9.50 mm ID x 2200.00 mm

2шт.

9

168025A1

HYDRAULIC HOSE,9.50 mm ID x 1950.00 mm

2шт.

12

162826A1

ADAPTER

G 3/8

4шт.

22

KHJ1345

HYDRAULIC HOSE,9.52 mm ID x 2150.00 mm

2шт.

23

168025A1

HYDRAULIC HOSE,9.50 mm ID x 1950.00 mm

2шт.

26

152747A1

ADAPTER

Incl. 27

2шт.

27

154467A1

O-RING,10.8mm ID x 2.4mm Width

1шт.

28

162826A1

ADAPTER

G 3/8

2шт.

69

KWJ0002

VALVE SECTION

See Figure 08-257-00 01

1шт.

71

153526A1

ELBOW

1шт.

72

KHJ2234

TEE

1шт.

73

KHJ2234

TEE

1шт.

80

KHJ1165

HYDRAULIC HOSE,9.52 mm ID x 850.00 mm

1шт.

81

166164A1

HYDRAULIC HOSE,9.50 mm ID x 1350.00 mm

1шт.

82

KHJ1234

HYDRAULIC HOSE,19.05 mm ID x 1000.00 mm

1шт.

83

166164A1

HYDRAULIC HOSE,9.50 mm ID x 1350.00 mm

1шт.

105

KHJ1307

HYDRAULIC HOSE,19.05 mm ID x 600.00 mm

1шт.

106

KHJ1740

HYDRAULIC HOSE

1шт.

107

167871A1

HYDRAULIC HOSE,19.00 mm ID x 700.00 mm

1шт.

108

KHJ1063

HYDRAULIC HOSE,9.52 mm ID x 1500.00 mm

1шт.

110

KHJ17120

VALVE SECTION

Shuttle; Replaces KHJ1973

1шт.

111

827-8045

BOLT,Hex, M8 x 1.25 x 45mm, Cl 10.9

2шт.

112

153081A1

WASHER

W M8

2шт.

113

KHJ1291

ORIFICE

Incl. 114

1шт.

114

154467A1

O-RING,10.8mm ID x 2.4mm Width

1шт.

115

KHJ1576

BRACKET

1шт.

116

166052A1

BOLT

M10 x 25

2шт.

117

152128A1

HYD CONNECTOR,3/8" NPT O-Ring x 3/8" NPT

Incl. 118

1шт.

118

154475A1

O-RING

1шт.

119

152747A1

ADAPTER

Incl. 120

1шт.

120

154467A1

O-RING,10.8mm ID x 2.4mm Width

1шт.

121

164107A1

TEE,3/8" ORB x 3/8" - 19 NPT x 3/8" - 19 NPT

Incl. 122

1шт.

122

154475A1

O-RING

1шт.

124

159062A1

HOSE ASSY.

3700 mm

1шт.

125

159061A1

HYDRAULIC HOSE

3600 mm

1шт.

126

KRJ4970

HOSE

3800 mm

1шт.

127

159061A1

HYDRAULIC HOSE

3600 mm

1шт.

128

159063A1

HOSE

1шт.

129

KBJ2340

HOSE

1шт.

135

152747A1

ADAPTER

Incl. 136

1шт.

136

154467A1

O-RING,10.8mm ID x 2.4mm Width

1шт.

137

KHJ2773

TEE

Incl. 138

1шт.

138

154467A1

O-RING,10.8mm ID x 2.4mm Width

1шт.

139

152128A1

HYD CONNECTOR,3/8" NPT O-Ring x 3/8" NPT

Incl. 140

1шт.

140

154475A1

O-RING

1шт.

141

KHJ2847

ADAPTER

Incl. 142

1шт.

142

154475A1

O-RING

1шт.

144

KHJ2234

TEE

1шт.

145

KHJ0719

ELBOW

Incl. 147

1шт.

146

154467A1

O-RING,10.8mm ID x 2.4mm Width

1шт.

149

KHJ10790

FILTER SCREEN

1шт.

150

152127A1

HYD CONNECTOR,1/4" NPT O-Ring x 1/4" NPT

Incl. 151

1шт.

151

154467A1

O-RING,10.8mm ID x 2.4mm Width

1шт.

152

KRJ4762

HOSE

1шт.

153

159067A1

HOSE

4200 mm

1шт.

154

159063A1

HOSE

3800 mm

1шт.

155

KHJ10300

HYDRAULIC HOSE

1шт.

156

KRJ4763

HOSE

1шт.

157

KTJ1674

HOSE

1шт.

158

KHJ10290

HYDRAULIC HOSE

1шт.

159

164238A1

HOSE ASSY.

1шт.

Выбрано товаров: 61