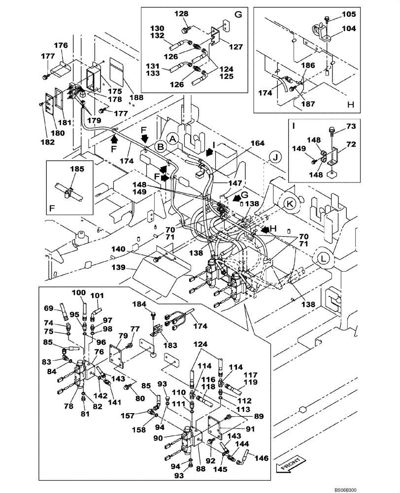
Запчасти Case CX700 (08-081-00[01]) - CIRCUIT, HYDRAULIC-ELECTRICAL - SELF-DETACHING COUNTERWEIGHT SYSTEM (08) - HYDRAULICS

Схема запчастей Case CX700 - (08-081-00[01]) - CIRCUIT, HYDRAULIC-ELECTRICAL - SELF-DETACHING COUNTERWEIGHT SYSTEM (08) - HYDRAULICS
145
88
76
144
184
140
84
142
71
113
70
94
133
180
143
95
96
83
138
143
82
177
185
176
112
119
148
147
179
158
177
94
75
69
92
110
71
127
124
105
139
148
81
111
131
174
97
174
98
126
78
125
186
174
100
178
149
116
73
157
85
80
79
104
90
89
101
130
124
126
118
91
77
148
132
70
187
175
85
149
146
138
114
72
188
117
141
93
164
93
128
114
138
182
183
74
181
FIT
1:1
100%

Артикул

Название

Примечание

Количество

69

KHJ10330

HYDRAULIC HOSE,9.52 mm ID x 1950.00 mm

1шт.

70

KHJ1076

CLAMP

4шт.

71

159906A1

BOLT,Sems, Hex, M6 x 20mm, Spcl

M6 x 20

4шт.

72

KWJ11060

SUPPORT

1шт.

73

152718A1

BOLT,Spcl, Hex Wshr, M12 x 25mm, Cl 10.9

1шт.

74

157584A1

ELBOW

Incl. 75

1шт.

75

154475A1

O-RING

1шт.

76

KUJ0298

MANIFOLD VALVE

1шт.

77

166052A1

BOLT

M10 x 25

4шт.

78

KUJ0288

SOLENOID VALVE

See Figure 08-259-00 01

1шт.

79

KTJ2302

BRACKET

1шт.

80

166352A1

BOLT

M12 x 30

2шт.

81

153105A1

PLUG

Incl. 82

1шт.

82

154475A1

O-RING

1шт.

83

157584A1

ELBOW

Incl. 84

1шт.

84

154475A1

O-RING

1шт.

85

KTJ2305

HYDRAULIC HOSE,9.52 mm ID x 370.00 mm

1шт.

88

KUJ0298

MANIFOLD VALVE

1шт.

89

166052A1

BOLT

M10 x 25

4шт.

90

KUJ0288

SOLENOID VALVE

See Figure 08-259-00 01

1шт.

91

KTJ2302

BRACKET

1шт.

92

166352A1

BOLT

M12 x 30

2шт.

93

153105A1

PLUG

Incl. 94

2шт.

94

154475A1

O-RING

1шт.

95

159226A1

ADAPTER

Incl. 96

1шт.

96

154475A1

O-RING

1шт.

97

152128A1

HYD CONNECTOR,3/8" NPT O-Ring x 3/8" NPT

Incl. 98

1шт.

98

154475A1

O-RING

1шт.

100

KAJ4281

HYDRAULIC HOSE,9.50 mm ID x 1400.00 mm

1шт.

101

KWJ11030

HYDRAULIC HOSE,9.52 mm ID x 1150.00 mm

1шт.

104

KHR2581

CLAMP

1шт.

105

KHJ1215

BOLT,Spcl

M8 x 25

1шт.

110

159226A1

ADAPTER

Incl. 111

1шт.

111

154475A1

O-RING

1шт.

112

152128A1

HYD CONNECTOR,3/8" NPT O-Ring x 3/8" NPT

Incl. 113

1шт.

113

154475A1

O-RING

1шт.

114

KHJ2234

TEE

2шт.

116

KAJ3534

HYDRAULIC HOSE,9.50 mm ID x 1550.00 mm

1350 mm

1шт.

117

167717A1

HYDRAULIC HOSE,9.50 mm ID x 1350.00 mm

1шт.

118

158063A1

PLASTIC-RUBBER TUBE

1300 mm

1шт.

119

150774A1

PLASTIC-RUBBER TUBE

1000 mm

1шт.

124

KHJ10340

HYDRAULIC HOSE,9.52 mm ID x 730.00 mm

2шт.

125

150488A1

PLASTIC-RUBBER TUBE

600 mm

2шт.

126

162826A1

ADAPTER

2шт.

127

KWJ10940

SUPPORT

1шт.

128

152718A1

BOLT,Spcl, Hex Wshr, M12 x 25mm, Cl 10.9

2шт.

130

KHJ10360

HYDRAULIC HOSE,9.52 mm ID x 1700.00 mm

1шт.

131

KHJ10350

HYDRAULIC HOSE,9.52 mm ID x 1500.00 mm

1шт.

132

158064A1

PLASTIC-RUBBER TUBE

1500 mm

1шт.

133

158063A1

PLASTIC-RUBBER TUBE

1300 mm

1шт.

138

150071A1

MOUNTING CLIP

380 mm

3шт.

139

KWJ10960

PROTECTION PLATE

1шт.

140

152718A1

BOLT,Spcl, Hex Wshr, M12 x 25mm, Cl 10.9

2шт.

141

150916A1

ELBOW,90 Degree, 3/8" O-Ring x 3/8"

Incl. 142

1шт.

142

154475A1

O-RING

1шт.

143

KRJ4344

HYDRAULIC HOSE,9.50 mm ID x 530.00 mm

1шт.

144

164107A1

TEE,3/8" ORB x 3/8" - 19 NPT x 3/8" - 19 NPT

Incl. 145

1шт.

145

154475A1

O-RING

1шт.

146

KHJ10370

HYDRAULIC HOSE,9.52 mm ID x 2000.00 mm

1шт.

147

KRH1517

PLASTIC-RUBBER TUBE

2000 mm

1шт.

148

KHJ1076

CLAMP

6шт.

149

159906A1

BOLT,Sems, Hex, M6 x 20mm, Spcl

M6 x 20

3шт.

157

150916A1

ELBOW,90 Degree, 3/8" O-Ring x 3/8"

Incl. 158

1шт.

158

154475A1

O-RING

1шт.

164

150071A1

MOUNTING CLIP

1шт.

174

KWR10020

WIRE HARNESS

1шт.

175

150636A1

BOX

1шт.

176

KUR0055

COVER

1шт.

177

166052A1

BOLT

M10 x 25

2шт.

178

KUR0053

TOGGLE SWITCH

1шт.

179

KUR0054

TOGGLE SWITCH

2шт.

180

KUR0056

PANEL

1шт.

181

150642A1

PACKING

1шт.

182

150875A1

SCREW,Phil Truss Hd, M4 x 12mm

M4 x 12

6шт.

183

KUR0091

BRACKET

1шт.

184

166351A1

BOLT,Sems, M10 x 20mm

M10 x 20

1шт.

185

KHR2787

CLAMP

4шт.

186

158962A1

CLIP

1шт.

187

167518A1

BOLT

M8 x 16

1шт.

188

KHP1718

DECAL

1шт.

Выбрано товаров: 80