Запчасти Case CX700 (02-003-00[01]) - EXHAUST (02) - ENGINE

Схема запчастей Case CX700 - (02-003-00[01]) - EXHAUST (02) - ENGINE
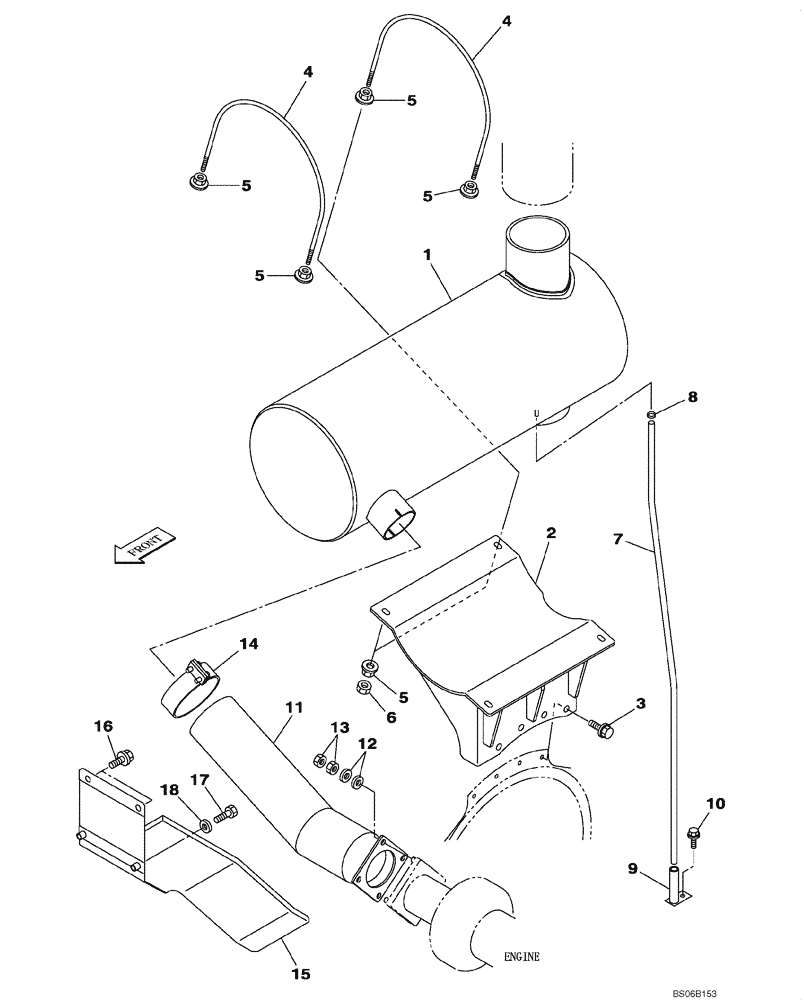
2
5
5
13
1
7
8
5
4
10
5
17
5
9
15
16
11
4
14
3
18
6
12
FIT
1:1
100%

Артикул

Название

Примечание

Количество

1

KWH10240

MUFFLER

MUFFLER, Replaces KWH0004

1шт.

2

KWH0038

SUPPORT

1шт.

3

166352A1

BOLT

M12 x 30

4шт.

4

KUH0185

U-BOLT

BOLT "U"

2шт.

5

KHH11440

FLANGE NUT

Replaces 150472A1

8шт.

6

CAN0694

JAM NUT

M10

4шт.

7

157484A1

LINER

1200 mm

1шт.

8

165952A1

MOUNTING CLIP

1шт.

9

KRH1262

GUIDE

1шт.

10

167182A1

BOLT,Sems, M8 x 25mm

M8 x 25

1шт.

11

KWH0037

EXHAUST SYSTEM PIPE

1шт.

12

150811A1

WASHER

W 12

8шт.

13

174R012VR

JAM NUT

M12 x 1.25

8шт.

14

KWH10080

CLAMP

1шт.

15

KWH10012

COVER

Replaces KWH10011

1шт.

16

166351A1

BOLT,Sems, M10 x 20mm

M10 x 20

2шт.

17

627-10035

BOLT,Hex, M10 x 1.5 x 35mm, Cl 10.9, Full Thd

2шт.

18

150409A1

WASHER

W M10

2шт.

19

KHH11420

U-BOLT

BOLT "U" If Used

2шт.

Выбрано товаров: 19