Запчасти Case CX700 (08-203-00[01]) - CONTROL VALVE (08) - HYDRAULICS

Схема запчастей Case CX700 - (08-203-00[01]) - CONTROL VALVE (08) - HYDRAULICS
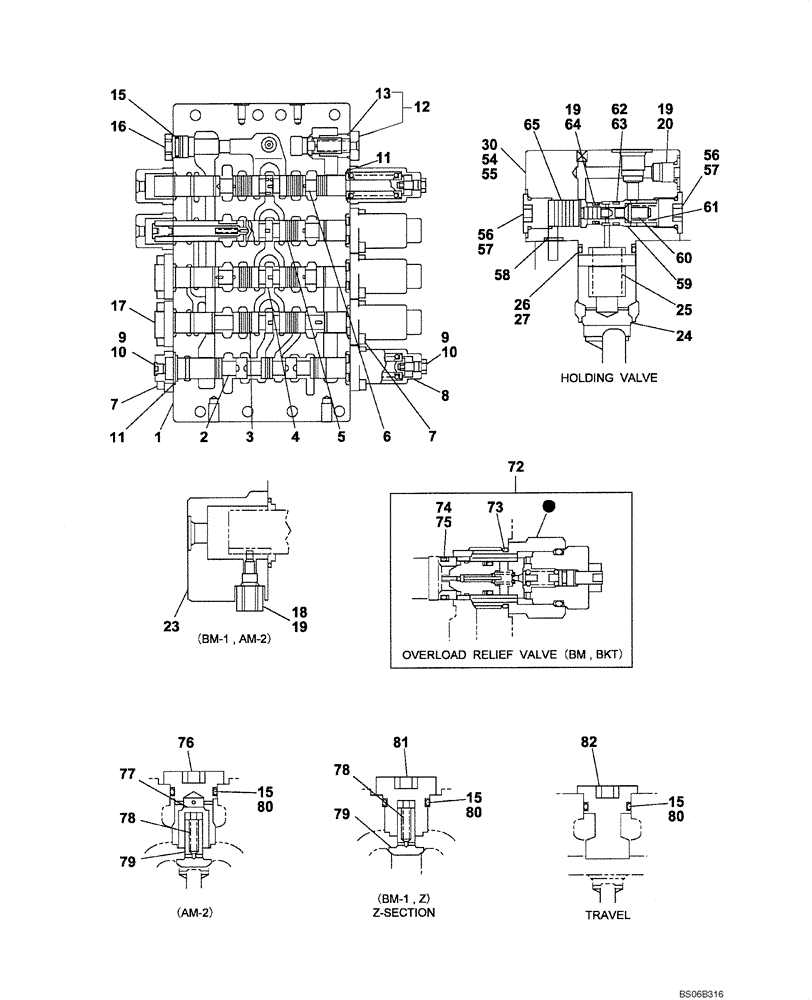
20
78
64
30
13
19
18
24
19
15
1
7
27
10
15
8
81
80
16
6
79
54
78
4
62
65
57
58
12
23
17
76
9
82
57
73
3
80
2
26
63
25
9
56
5
56
15
72
10
11
61
59
80
19
77
60
15
79
7
75
55
11
74
FIT
1:1
100%

Артикул

Название

Примечание

Количество

1

NSS

NOT SOLD SEPARAT

Housing

1шт.

2

NSS

NOT SOLD SEPARAT

Spool

1шт.

3

NSS

NOT SOLD SEPARAT

Spool

1шт.

4

NSS

NOT SOLD SEPARAT

Spool

1шт.

5

NSS

NOT SOLD SEPARAT

Spool

1шт.

6

NSS

NOT SOLD SEPARAT

Spool

1шт.

7

108R012Z030N

BOLT

20шт.

8

LW00268

COVER

5шт.

9

156263A1

CAP

2шт.

10

154475A1

O-RING

2шт.

11

LBQ6226

O-RING

10шт.

12

LJ00580

VALVE, PRESSURE RELI

EF Incl. 13

1шт.

13

154555A1

O-RING

1шт.

15

154535A1

O-RING

6шт.

16

LK00239

PLUG

1шт.

17

LW00266

COVER

3шт.

18

LK00238

PLUG

2шт.

19

154467A1

O-RING,10.8mm ID x 2.4mm Width

4шт.

20

160306A1

CAP

1шт.

23

LW00269

COVER

2шт.

24

LJ00583

VALVE POPPET

1шт.

25

LG00257

COMPRESSION SPRING

1шт.

26

154549A1

O-RING

1шт.

27

154017A1

BACK-UP RING

2шт.

30

LA00598

SPRING WASHER

4шт.

54

LW00267

COVER

1шт.

55

108R014Z040B

BOLT

4шт.

56

160903A1

CAP

2шт.

57

154487A1

O-RING

2шт.

58

154463A1

O-RING

1шт.

59

LH00206

SLEEVE VALVE

1шт.

60

LJ00584

VALVE POPPET

1шт.

61

LG00260

COMPRESSION SPRING

1шт.

62

154402A1

BACK-UP RING

1шт.

63

155063A1

O-RING

1шт.

64

153955A1

O-RING

1шт.

65

LJ00597

PISTON

1шт.

72

LJ00878

VALVE, PRESSURE RELI

EF Incl. 73 - 75

4шт.

73

154525A1

O-RING

1шт.

74

153973A1

BACK-UP RING

1шт.

75

154493A1

O-RING

1шт.

76

LK00236

CAP

1шт.

77

LJ00601

CHECK VALVE

1шт.

78

156079A1

SPRING

4шт.

79

LJ00600

CHECK VALVE

4шт.

80

154006A1

BACK-UP RING

6шт.

81

LK00231

CAP

4шт.

82

LK00232

CAP

1шт.

Выбрано товаров: 48