Запчасти Case CX700 (08-205-00[01]) - CONTROL VALVE (08) - HYDRAULICS

Схема запчастей Case CX700 - (08-205-00[01]) - CONTROL VALVE (08) - HYDRAULICS
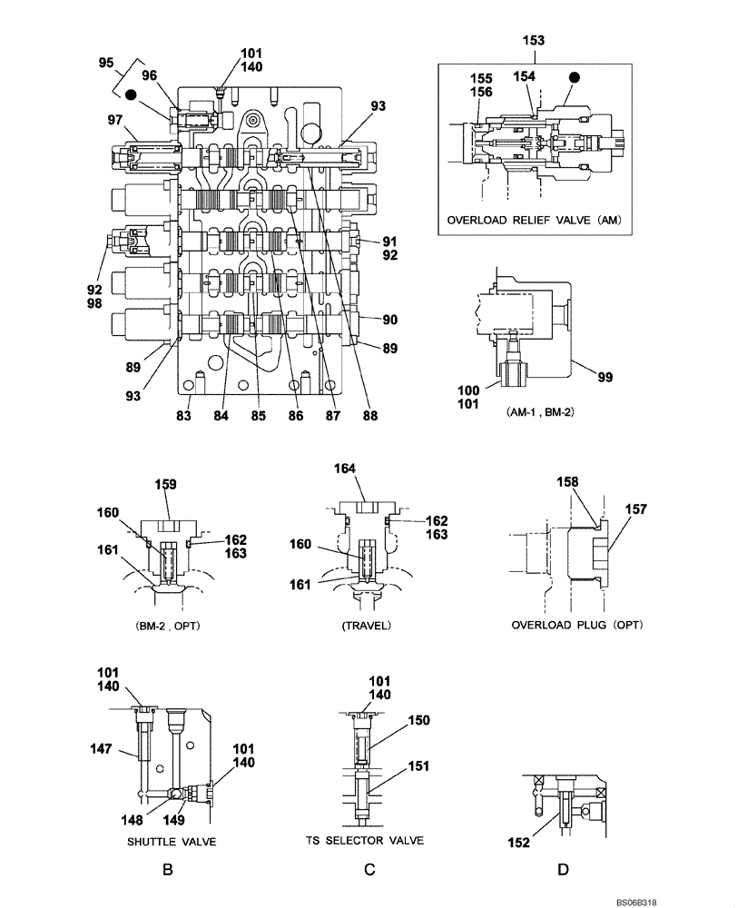
150
152
93
161
140
147
160
153
155
92
148
163
93
98
85
89
84
83
91
86
95
89
92
101
100
87
161
162
99
149
163
90
154
151
159
101
157
88
101
140
97
101
96
101
158
140
160
164
156
140
162
FIT
1:1
100%

Артикул

Название

Примечание

Количество

83

NSS

NOT SOLD SEPARAT

Housing

1шт.

84

NSS

NOT SOLD SEPARAT

Spool

1шт.

85

NSS

NOT SOLD SEPARAT

Spool

1шт.

86

NSS

NOT SOLD SEPARAT

Spool

1шт.

87

NSS

NOT SOLD SEPARAT

Spool

1шт.

88

NSS

NOT SOLD SEPARAT

Spool

1шт.

89

108R012Z030N

BOLT

20шт.

90

LW00266

COVER

3шт.

91

156263A1

CAP

1шт.

92

154475A1

O-RING

2шт.

93

LBQ6226

O-RING

10шт.

95

LJ00580

VALVE, PRESSURE RELI

EF Incl. 96

1шт.

96

154555A1

O-RING

1шт.

97

LW00268

COVER

5шт.

98

LK00233

CAP

1шт.

99

LW00269

COVER

2шт.

100

LK00238

PLUG

2шт.

101

154467A1

O-RING,10.8mm ID x 2.4mm Width

11шт.

140

160306A1

CAP

6шт.

147

LJ00595

ORIFICE

1шт.

148

LB00433

BALL

1шт.

149

LR00424

SPRING SEAT

1шт.

150

LG00259

COMPRESSION SPRING

1шт.

151

NSS

NOT SOLD SEPARAT

Spool

1шт.

152

LJ00594

ORIFICE

1шт.

153

LJ00878

VALVE, PRESSURE RELI

EF Incl. 154 - 156

2шт.

154

154525A1

O-RING

1шт.

155

153973A1

BACK-UP RING

1шт.

156

154493A1

O-RING

1шт.

157

156264A1

CAP

2шт.

158

154523A1

O-RING

2шт.

159

LK00231

CAP

2шт.

160

156079A1

SPRING

3шт.

161

LJ00600

CHECK VALVE

3шт.

162

154006A1

BACK-UP RING

3шт.

163

154535A1

O-RING

3шт.

164

LR00425

CAP

1шт.

Выбрано товаров: 37