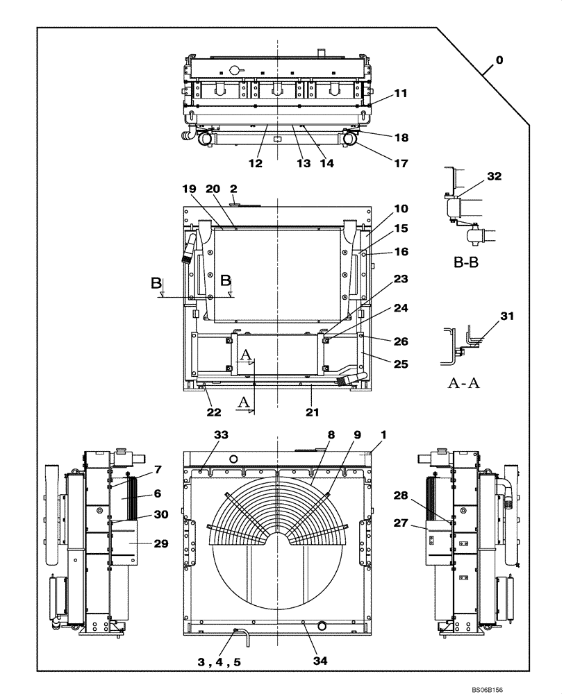
Запчасти Case CX700 (02-005-01[01]) - RADIATOR (02) - ENGINE

Схема запчастей Case CX700 - (02-005-01[01]) - RADIATOR (02) - ENGINE
6
2
25
0
17
28
10
9
14
8
3
15
1
12
20
32
27
4
5
24
29
16
26
18
21
13
7
30
34
22
33
19
23
31
11
FIT
1:1
100%

Артикул

Название

Примечание

Количество

0

KWH0002

RADIATOR

Incl. 1 - 34

1шт.

1

LN001520

RADIATOR

1шт.

2

LR00650

FILLER CAP

1шт.

3

LJ00849

COCK, DRAIN

1шт.

4

LK00342

HOSE

700.0 mm

1шт.

5

LA00602

CLIP,ELECTRICAL

1шт.

6

LW004670

SHROUD

1шт.

7

LA00784

BOLT

M10 x 1.5

8шт.

8

LG005570

RADIATOR GRILLE

1шт.

9

LA00781

BOLT

M12 x 1.75 x 25

5шт.

10

LN001510

OIL COOLER

1шт.

11

LA00780

BOLT

M12 x 1.75 x 30

8шт.

12

LG005560

SHIELD

1шт.

13

LG005550

SHIELD

1шт.

14

156606A1

BOLT,Wing, M6

M6 x 1.0

4шт.

15

LS002690

BRACKET

2шт.

16

158869A1

BOLT

6шт.

17

LN001500

CONDENSER

1шт.

18

158869A1

BOLT

6шт.

19

LG00395

SIEVE

1шт.

20

156606A1

BOLT,Wing, M6

M6 x 1.0

4шт.

21

LR012960

PLATE

1шт.

22

LUG0003

BOLT

4шт.

23

LN001490

FUEL COOLER

1шт.

24

LA00677

BOLT,Spcl

4шт.

25

LS002680

BRACKET

1шт.

26

158869A1

BOLT

4шт.

27

LS002670

SUPPORT

1шт.

28

LA00784

BOLT

M10 x 1.5

4шт.

29

LS002660

SUPPORT

1шт.

30

LA00784

BOLT

M10 x 1.5

4шт.

31

LE00916

PACKING

1шт.

32

LE00917

PACKING

2шт.

33

LA00784

BOLT

M10 x 1.5

6шт.

34

158870A1

BOLT

4шт.

Выбрано товаров: 0