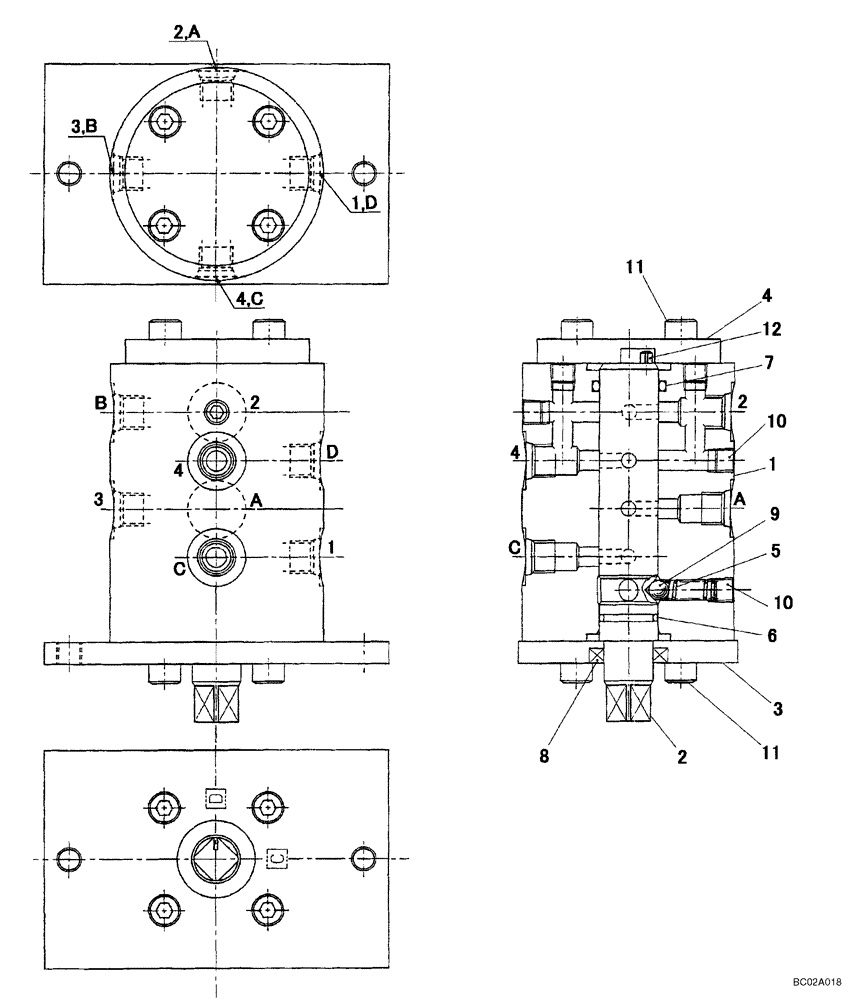
Запчасти Case CX700 (08-274-00[01]) - VALVE, PILOT - PILOT CONTROL LINES (08) - HYDRAULICS

Схема запчастей Case CX700 - (08-274-00[01]) - VALVE, PILOT - PILOT CONTROL LINES (08) - HYDRAULICS
7
3
11
6
1
4
9
8
10
2
10
12
5
11
FIT
1:1
100%

Артикул

Название

Примечание

Количество

KHJ2184

VALVE

Pilot; Incl. 1 - 12

1шт.

1

NSS

NOT SOLD SEPARAT

Body

1шт.

2

NSS

NOT SOLD SEPARAT

Shaft

1шт.

3

NSS

NOT SOLD SEPARAT

Flange

1шт.

4

NSS

NOT SOLD SEPARAT

Flange

1шт.

5

LG00426

COMPRESSION SPRING

1шт.

6

154491A1

O-RING

1шт.

7

154503A1

O-RING

1шт.

8

LS00199

SHAFT SEAL

1шт.

9

LB00781

BALL

1шт.

10

LK00377

PLUG

9шт.

11

864-8020

HEX SOC SCREW,M8 x 20mm, Cl 8.8

8шт.

12

738-1512

LOCK PIN,M5 x 12, Slotted

5 x 12 mm

3шт.

Выбрано товаров: 13