Запчасти Case CX700 (09-004-00[01]) - COUNTERWEIGHT - SOUNDPROOFING (09) - CHASSIS/ATTACHMENTS

Схема запчастей Case CX700 - (09-004-00[01]) - COUNTERWEIGHT - SOUNDPROOFING (09) - CHASSIS/ATTACHMENTS
8
2
3
7
9
5
7
10
11
5
12
4
1
8
5
7
6
4
10
5
9
FIT
1:1
100%

Артикул

Название

Примечание

Количество

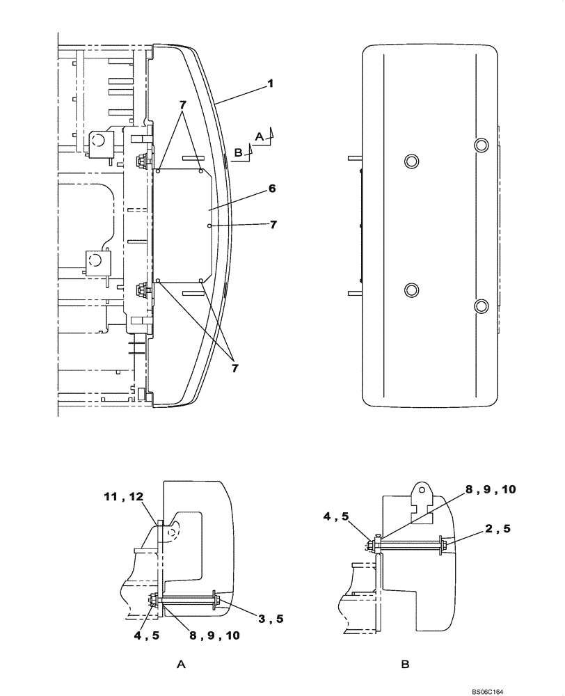
1

KWB10290Y2

WEIGHT PACKAGE

1шт.

2

KWB10340

BOLT

M42 x 710

2шт.

3

KHB0348

BOLT

M42 x 620

2шт.

4

KUB10970

NUT

U M42 (Replaced 166UR042VN)

4шт.

5

KUB10960

WASHER

W42 (Replaced 150400A1)

8шт.

6

KWB0017Y2

COVER

1шт.

7

152718A1

BOLT,Spcl, Hex Wshr, M12 x 25mm, Cl 10.9

5шт.

8

151020A1

ADJUSTING PLATE

2.0 mm

1шт.

9

151023A1

ADJUSTING PLATE

3.2 mm

1шт.

10

151028A1

ADJUSTING PLATE

4.5 mm

1шт.

11

KUB0110

SHIM,2.3mm Thk

1шт.

12

KUB0111

SHIM,3.2mm Thk

1шт.

Выбрано товаров: 12