Запчасти Case CX700 (09-102-00[01]) - MONOBLOCK BOOM (7.70 M) (09) - CHASSIS/ATTACHMENTS

Схема запчастей Case CX700 - (09-102-00[01]) - MONOBLOCK BOOM (7.70 M) (09) - CHASSIS/ATTACHMENTS
21
15
11
18
17
22
22
21
16
24
23
25
19
25
17
26
23
15
20
2
FIT
1:1
100%

Артикул

Название

Примечание

Количество

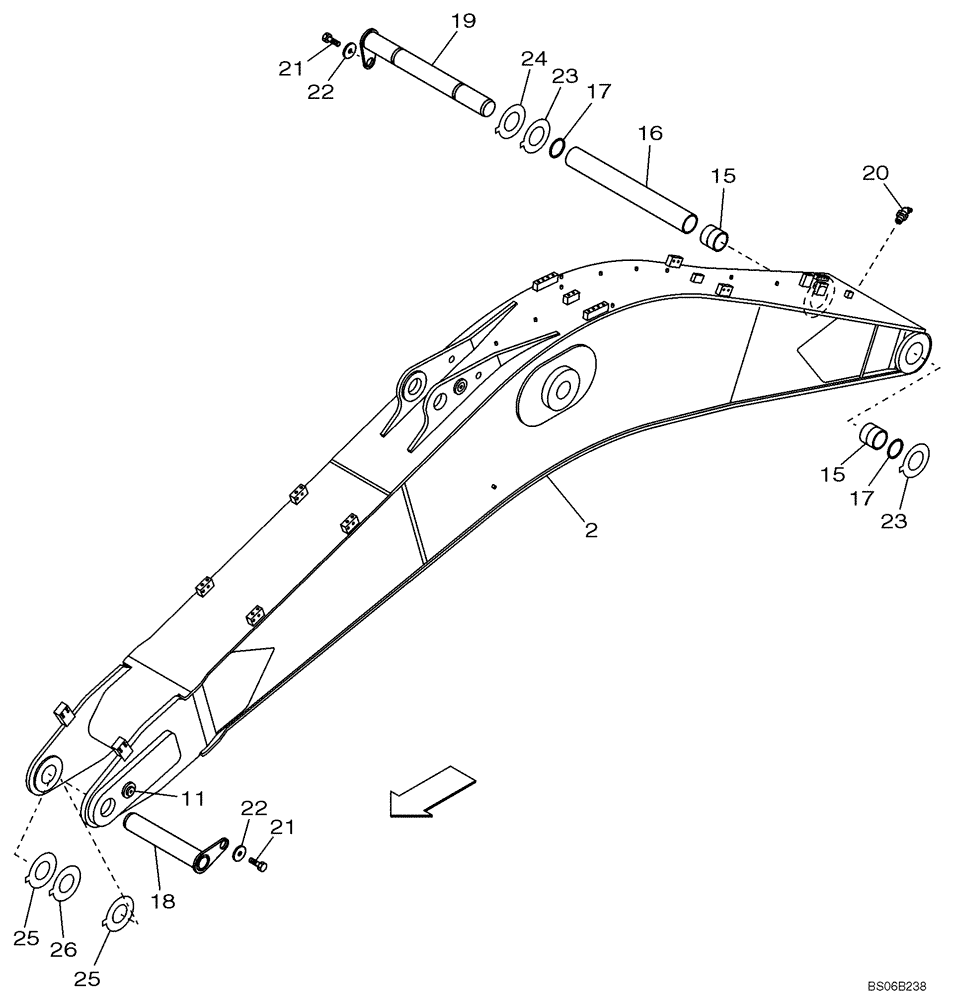
KWV11520

BOOM

Incl. 2, 11, 15, 16

1шт.

2

NSS

NOT SOLD SEPARAT

Boom

1шт.

11

KWV0098

SPACER

2шт.

15

KWV0023

SELF LUB RING

2шт.

16

KWV10010

TUBE

1шт.

17

KHV10010

DUST CAP

2шт.

18

KWV0047

PIN,60mm OD x 460mm L

1шт.

19

KWV0048

PIN

1шт.

20

153630A1

LUBE NIPPLE

1шт.

21

102R020Y035R

BOLT

M20 x 35

2шт.

22

KWV0090

SPACER

2шт.

23

KWV10500

ADJUSTING PLATE

2 mm

1шт.

24

KWV0096

ADJUSTING PLATE

1шт.

25

KWV10510

ADJUSTING PLATE

2 mm

1шт.

26

KWV0097

ADJUSTING PLATE

1шт.

Выбрано товаров: 15