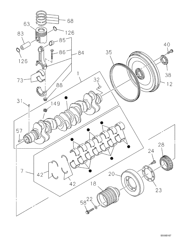
Запчасти Case CX700 (02-015-01[01]) - PISTONS AND CRANKSHAFT (02) - ENGINE

Схема запчастей Case CX700 - (02-015-01[01]) - PISTONS AND CRANKSHAFT (02) - ENGINE
58
12
73
20
42
83
7
84
149
68
126
35
18
32
24
88
1
86
38
40
22
23
28
63
126
31
42
57
85
FIT
1:1
100%

Артикул

Название

Примечание

Количество

1

87384743

CRANKSHAFT

Incl. 32, 57,149

1шт.

7

288923A1

CRANKSHAFT BEARING

Incl. 42

1шт.

12

87384744

ENGINE FLYWHEEL

1шт.

18

87384745

PULLEY

1шт.

20

419824A1

DAMPER

1шт.

22

419825A1

WASHER

ID 18

8шт.

23

419826A1

WASHER

1шт.

24

419827A1

BOLT

M12 x 30

8шт.

28

419829A1

GEAR

Z 48

1шт.

31

419830A1

SMALL PIN

OD 5 - L 6

1шт.

32

289770A1

PIN

OD 8 - L 16

1шт.

35

419831A1

RING, FLYWHEEL

Z 139

1шт.

38

419832A1

WASHER

1шт.

40

419833A1

BOLT

10шт.

42

419842A1

THRUST WASHER

2шт.

57

87384746

DOWEL

1шт.

58

419833A1

BOLT

8шт.

63

87384747

PISTON

Grade= Non

6шт.

68

87384748

PISTON RINGS KIT

6шт.

73

87384749

BEARING,CON.ROD

BEARING, CON. ROD

6шт.

83

419835A1

PISTON PIN

6шт.

84

419836A1

PITMAN ASSY.

Incl. 85, 86, 88

6шт.

85

419837A1

BUSHING

6шт.

86

419838A1

BOLT

12шт.

88

419839A1

NUT

12шт.

126

419840A1

SNAP RING

12шт.

149

419841A1

PLUG

6шт.

Выбрано товаров: 27