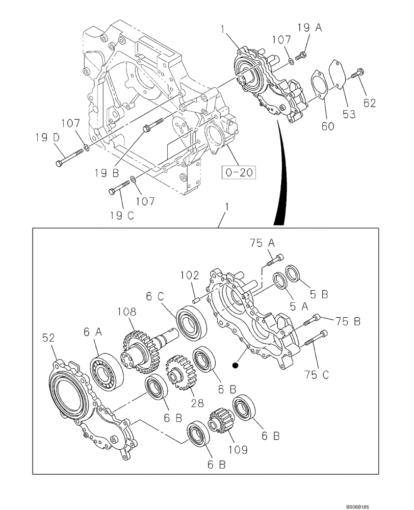
Запчасти Case CX700 (02-090-01[01]) - COUPLING - FLYWHEEL (02) - ENGINE

Схема запчастей Case CX700 - (02-090-01[01]) - COUPLING - FLYWHEEL (02) - ENGINE
6b
19c
6b
6b
107
5b
19d
108
107
5a
1
1
6a
52
75b
62
19b
53
6b
102
109
75a
19a
0-20
6c
107
75c
28
60
FIT
1:1
100%

Артикул

Название

Примечание

Количество

0-20

REF

INSTRUCTION

See Figure 02-020-01 01

1шт.

1

87386248

PTO

Incl. 5A - 6C, 28, 52, 75A, 75B, 102, 108, 109

1шт.

5a

76600007

SEALING RING

SEALRING

1шт.

5b

87386249

SEAL

1шт.

6a

87386250

BALL BEARING

1шт.

6b

87386251

BALL BEARING

4шт.

6c

87386252

BALL BEARING

1шт.

19a

426656A1

BOLT

M14 x 80

1шт.

19b

426274A1

BOLT

M10 x 135

1шт.

19c

426267A1

BOLT

M14 x 128

2шт.

19d

87386253

BOLT

M14 x 150

1шт.

28

87386254

IDLER GEAR

1шт.

52

87386256

HOUSING

1шт.

53

87386258

COVER

1шт.

60

87386259

GASKET

1шт.

62

87386260

BOLT

M14 x 20

2шт.

75a

87386262

BOLT

M8 x 30

4шт.

75b

87386263

BOLT

M10 x 33

9шт.

75c

87386265

BOLT

M10 x 65

5шт.

102

355153A1

DOWEL

2шт.

107

289796A1

WASHER

4шт.

108

87386266

GEAR

1шт.

109

87386268

GEAR

1шт.

Выбрано товаров: 23