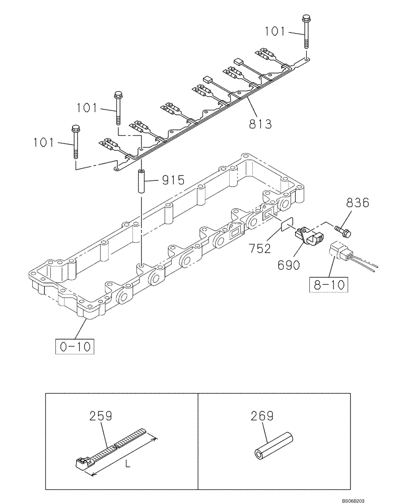
Запчасти Case CX700 (04-060-02[01]) - ELECTRICAL ACCESSORIES - ENGINE (04) - ELECTRICAL SYSTEMS

Схема запчастей Case CX700 - (04-060-02[01]) - ELECTRICAL ACCESSORIES - ENGINE (04) - ELECTRICAL SYSTEMS
101
752
836
813
8-10
101
690
915
0-10
101
259
269
FIT
1:1
100%

Артикул

Название

Примечание

Количество

0-10

REF

INSTRUCTION

See Figure 02-010-01

1шт.

8-10

REF

INSTRUCTION

See Figure 04-810-01

1шт.

101

288987A1

BOLT

M8 x 70

7шт.

259

438022A1

CLAMP

250 mm

1шт.

269

87386232

SLEEVE

1шт.

690

87380194

FITTING

2шт.

752

87379336

GASKET

2шт.

813

87386235

HARNESS

1шт.

836

288983A1

BOLT

M8 x 12

4шт.

915

87386237

SPACER

7шт.

Выбрано товаров: 10