Запчасти Case CX75SR (08-40) - HYDRAULICS, AUXILIARY - SINGLE ACTING CIRCUIT (08) - HYDRAULICS

Схема запчастей Case CX75SR - (08-40) - HYDRAULICS, AUXILIARY - SINGLE ACTING CIRCUIT (08) - HYDRAULICS
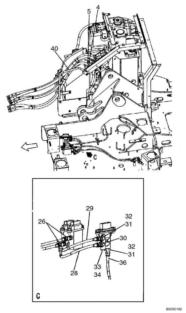
5
31
26
32
34
36
40
4
33
29
31
28
32
30
FIT
1:1
100%

Артикул

Название

Примечание

Количество

4

KHJ2022

HOSE CLAMP

1шт.

5

KHJ2023

HOSE CLAMP

1шт.

26

KHJ2130

TEE

2шт.

28

KHJ2084

HOSE

1шт.

29

KHJ2238

HOSE

1шт.

30

161841A1

HYD CONNECTOR

1шт.

31

152127A1

HYD CONNECTOR,1/4" NPT O-Ring x 1/4" NPT

Incl. 32

2шт.

32

154467A1

O-RING,10.8mm ID x 2.4mm Width

1шт.

33

159002A1

PLUG

Incl. 34

1шт.

34

154467A1

O-RING,10.8mm ID x 2.4mm Width

1шт.

36

KHJ2312

HOSE,6mm ID x 2500mm L

1шт.

40

KAJ4879

SUPPORT

1шт.

Выбрано товаров: 12