Запчасти Case CX75SR (08-54) - PUMP ASSY, HYDRAULIC - PISTON (08) - HYDRAULICS

Схема запчастей Case CX75SR - (08-54) - PUMP ASSY, HYDRAULIC - PISTON (08) - HYDRAULICS
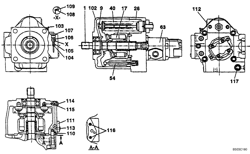
17
1
114
117
109
106
107
113
116
110
115
63
54
105
102
9
40
112
103
108
104
111
26
FIT
1:1
100%

Артикул

Название

Примечание

Количество

KAJ4955

HYDRAULIC PUMP

Includes Parts on Figure(s) 08-54 - 08-58

1шт.

87341992

REMAN-HYD PUMP

Remanufactured, N.A. Only

1шт.

87341994

CORE-HYDRAULIC PUMP

Return Number, For N.A. Only

1шт.

1

LB00874

SHAFT

See Figure 08-55

1шт.

9

LR00985

PLATE

See Figure 08-55

1шт.

17

LZ00547

REPAIR KIT

See Figure 08-55

1шт.

26

LW00404

COVER

See Figure 08-56

1шт.

40

LG00459

SPRING

See Figure 08-56

1шт.

54

LJ01037

PISTON

See Figure 08-56

1шт.

63

LJ01044

HYDRAULIC PUMP

Gear; See Figure 08-58

1шт.

102

NSS

NOT SOLD SEPARAT

Housing

1шт.

103

LNP0225

VALVE PRESSURE RELIE

1шт.

104

NSS

NOT SOLD SEPARAT

Bushing

1шт.

105

LB00866

BALL

Steel

1шт.

106

155501A1

PLUG

1шт.

107

156635A1

PLUG

1шт.

108

164819A1

PACKING

Copper

1шт.

109

LH00346

SHIM

1шт.

110

NSS

NOT SOLD SEPARAT

Plug

1шт.

111

NSS

NOT SOLD SEPARAT

Nameplate, Serial Number

1шт.

112

LK00118

PLUG

1шт.

113

LK00309

PLUG

1шт.

114

LLP0134

PLUG

1шт.

115

LJ01046

ORIFICE

1шт.

116

LE00180

RING

2шт.

117

LNP0224

VALVE PRESSURE RELIE

See Figure 08-57

1шт.

LT00113

HOUSING

Kit; Incl. 102, 104, 110

1шт.

Выбрано товаров: 27