Качественные детали и логистика
Оригинальные и аналоговые запчасти с доставкой по России, Казахстану и Беларуси
©2022 PartSell ООО "Система" ИНН 2463123282 ОГРН 1212400004838
Центральный офис: г. Красноярск, Академика Киренского, д.87, пом.4
Телефон: 8 (800) 777-65-74 Email: zakaz@partsell.ru
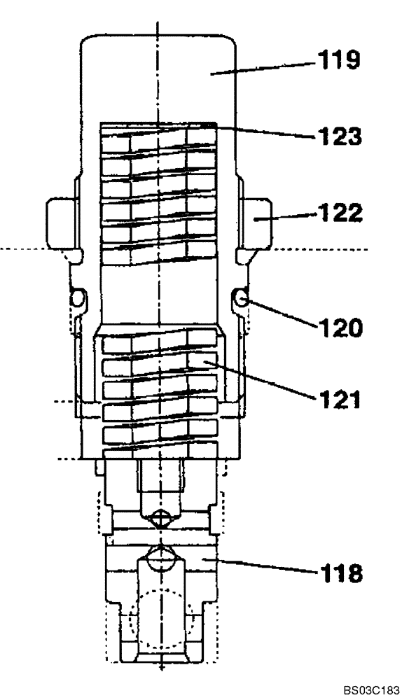
(08-57) - PUMP ASSY, HYDRAULIC - REGULATOR
№
Артикул
Название
Примечание
Количество
LNP0224
VALVE PRESSURE RELIE
Incl. 118 - 123
1шт.
118
LPP0194
SPOOL
119
LUP0204
SCREW
120
LBP0034
O-RING
121
LSP0155
SPRING
123
LUP0205
SPECIAL NUT
Выбрано товаров: 0