Запчасти Case CX75SR (08-62) - MOTOR ASSY, SWING - VALVE ASSY, RELIEF (08) - HYDRAULICS

Схема запчастей Case CX75SR - (08-62) - MOTOR ASSY, SWING - VALVE ASSY, RELIEF (08) - HYDRAULICS
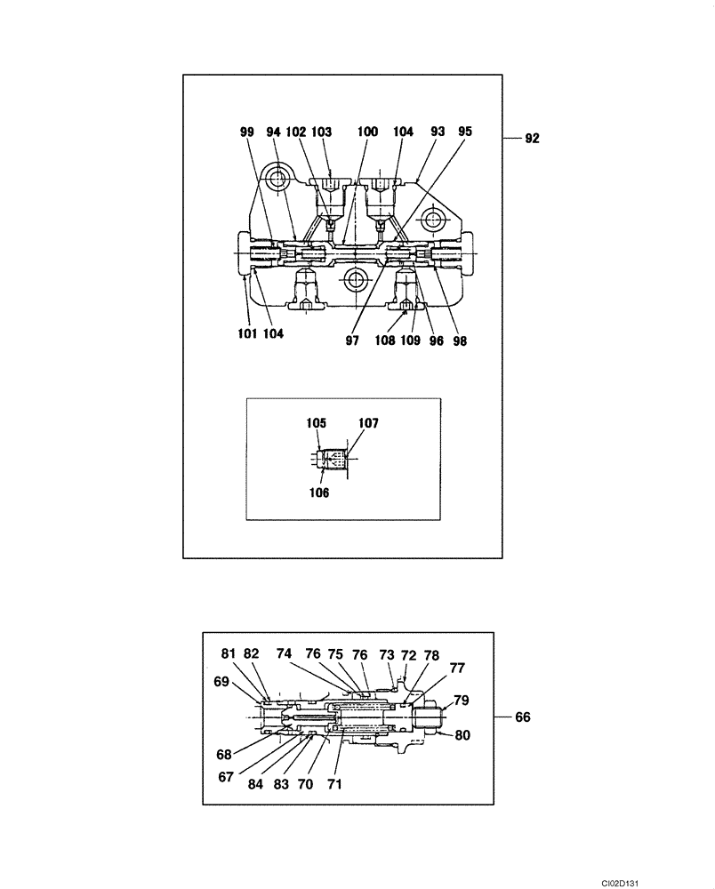
72
68
76
93
73
104
95
106
104
75
83
76
74
78
79
107
109
66
84
94
70
82
97
80
103
99
92
98
71
101
96
100
108
69
67
102
81
77
105
FIT
1:1
100%

Артикул

Название

Примечание

Количество

KAC0177

MOTO-REDUCTION GEAR

Incl. 66 - 109; Also Includes Parts on Figures 08-60, 08-61

1шт.

66

LJ00922

VALVE, PRESSURE RELI

EF Incl. 67 - 84

2шт.

67

LT00120

HOUSING

1шт.

68

165970A1

POPPET

1шт.

69

LR00834

SEAT, VALVE

1шт.

70

LR00635

SPRING SEAT

1шт.

71

LG00421

COMPRESSION SPRING

1шт.

72

LK00367

PLUG

1шт.

73

155225A1

O-RING

1шт.

74

LJ00923

PISTON

1шт.

75

154495A1

O-RING

1шт.

76

153977A1

BACK-UP RING

2шт.

77

160210A1

SPRING

1шт.

78

165955A1

O-RING

1шт.

79

164476A1

SET OF SCREWS

1шт.

80

160293A1

NUT

1шт.

81

154479A1

O-RING

1шт.

82

153964A1

BACK-UP RING

1шт.

83

154483A1

O-RING

1шт.

84

153967A1

BACK-UP RING

1шт.

92

LJ00924

VALVE

Incl. 93 - 109

1шт.

93

LR00835

BODY

1шт.

94

163982A1

SPOOL

Incl. 95 - 98

2шт.

95

164017A1

VALVE, CHECK

1шт.

96

164069A1

SPRING

1шт.

97

164018A1

VALVE

1шт.

98

164019A1

PLUG

1шт.

99

164104A1

SPRING

2шт.

100

164020A1

SLEEVE

1шт.

101

164021A1

PLUG

2шт.

102

TIP0001143

ORIFICE

2шт.

103

LK00068

PLUG

2шт.

104

154475A1

O-RING

4шт.

105

LJ00927

FILTER

1шт.

106

LA00817

WASHER

1шт.

107

LJ00928

ORIFICE

1шт.

108

LK00368

PLUG

2шт.

109

154467A1

O-RING,10.8mm ID x 2.4mm Width

1шт.

LZ00491

SEAL KIT

Hydraulic Motor; Incl. 73, 104; Also Includes Parts On Figure 08-60, 08-61

1шт.

Выбрано товаров: 39