Запчасти Case CX75SR (08-68) - VALVE ASSY, CONTROL (08) - HYDRAULICS

Схема запчастей Case CX75SR - (08-68) - VALVE ASSY, CONTROL (08) - HYDRAULICS
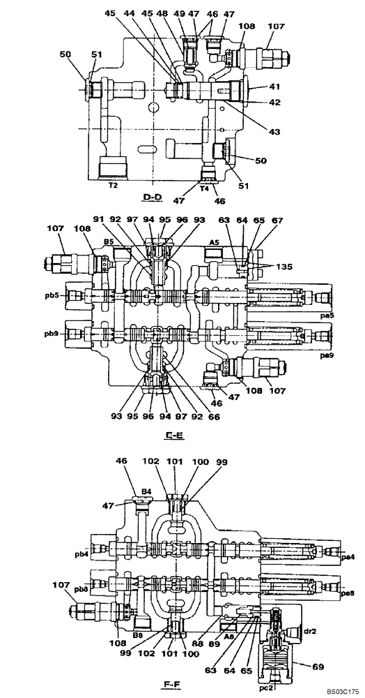
92
91
51
107
63
88
96
49
50
65
97
45
93
93
107
99
66
101
92
89
50
107
41
43
102
135
47
63
64
69
108
97
64
46
47
45
108
100
47
48
46
44
99
65
108
47
95
67
46
108
107
42
95
46
51
102
101
96
47
94
100
94
FIT
1:1
100%

Артикул

Название

Примечание

Количество

41

163970A1

PLUG

Incl. 42

1шт.

42

154503A1

O-RING

1шт.

43

LH00310

SLEEVE VALVE

1шт.

44

154483A1

O-RING

1шт.

45

153967A1

BACK-UP RING

2шт.

46

163369A1

PLUG

Incl. 47

5шт.

47

154475A1

O-RING

1шт.

48

LJ00914

POPPET

1шт.

49

166976A1

SPRING

1шт.

50

163370A1

PLUG

Incl. 51

2шт.

51

154487A1

O-RING

1шт.

63

166853A1

SPACER

2шт.

64

155062A1

O-RING

2шт.

65

154402A1

BACK-UP RING

2шт.

66

LH00311

SLEEVE VALVE

1шт.

67

LR00830

PLATE

1шт.

69

LJ00916

VALVE

See Figure 08-71

1шт.

88

166946A1

VALVE POPPET

1шт.

89

166979A1

SPRING

1шт.

91

LH00312

SLEEVE VALVE

1шт.

92

166936A1

VALVE POPPET

2шт.

93

166973A1

SPRING

2шт.

94

TPC0004

VALVE POPPET

2шт.

95

166839A1

PLUG

2шт.

96

TSC0004

SPRING

2шт.

97

154503A1

O-RING

2шт.

99

166945A1

VALVE POPPET

2шт.

100

166978A1

SPRING

2шт.

101

166840A1

PLUG

2шт.

102

154487A1

O-RING

2шт.

107

LJ00917

HYDRAULIC VALVE

Incl. 108

4шт.

108

155222A1

O-RING

1шт.

135

154451A1

O-RING

2шт.

Выбрано товаров: 33