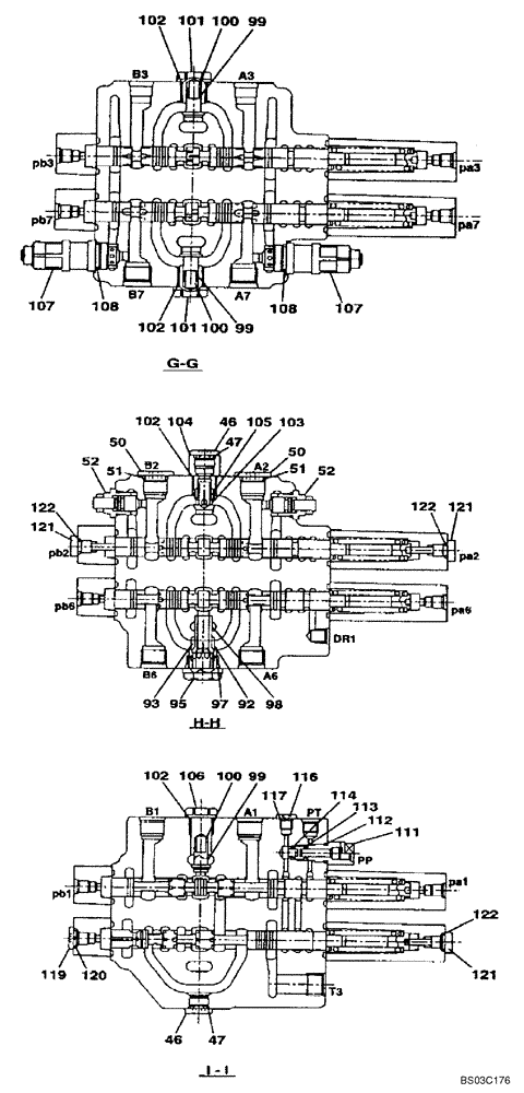
Запчасти Case CX75SR (08-69) - VALVE ASSY, CONTROL (08) - HYDRAULICS

Схема запчастей Case CX75SR - (08-69) - VALVE ASSY, CONTROL (08) - HYDRAULICS
99
51
101
104
121
99
117
113
101
92
106
52
107
108
119
111
102
102
93
122
102
51
121
122
47
99
121
116
103
100
46
50
102
95
108
100
50
122
107
47
52
46
98
112
120
105
114
100
97
FIT
1:1
100%

Артикул

Название

Примечание

Количество

46

163369A1

PLUG

Incl. 47

2шт.

47

154475A1

O-RING

1шт.

50

163370A1

PLUG

Incl. 51

2шт.

51

154487A1

O-RING

1шт.

52

LJ00915

SHUT-OFF VALVE

See Figure 08-52

2шт.

92

166936A1

VALVE POPPET

1шт.

93

166973A1

SPRING

1шт.

95

166839A1

PLUG

1шт.

97

154503A1

O-RING

1шт.

98

LH00313

SLEEVE VALVE

1шт.

99

166945A1

VALVE POPPET

3шт.

100

166978A1

SPRING

3шт.

101

166840A1

PLUG

2шт.

102

154487A1

O-RING

4шт.

103

LPC0284

POPPET

1шт.

104

LLC0147

PLUG

1шт.

105

LSC0280

COMPRESSION SPRING

1шт.

106

LK00362

PLUG

1шт.

107

LJ00917

HYDRAULIC VALVE

Incl. 107

2шт.

108

155222A1

O-RING

1шт.

111

LK00363

PLUG

Incl. 112 - 114

2шт.

112

154475A1

O-RING

1шт.

113

155087A1

O-RING

1шт.

114

154458A1

O-RING

1шт.

116

163368A1

PLUG

Incl. 117

1шт.

117

154455A1

O-RING

1шт.

119

163972A1

PLUG

Incl. 120

1шт.

120

154467A1

O-RING,10.8mm ID x 2.4mm Width

1шт.

121

LK00364

PLUG

3шт.

122

154467A1

O-RING,10.8mm ID x 2.4mm Width

1шт.

Выбрано товаров: 30