Запчасти Case CX75SR (08-74) - VALVE ASSY, REMOTE CONTROL - DOZER BLADE (08) - HYDRAULICS

Схема запчастей Case CX75SR - (08-74) - VALVE ASSY, REMOTE CONTROL - DOZER BLADE (08) - HYDRAULICS
24
1
3
20
5
17
25
21
19
11
23
14
22
4
18
9
13
24
16
10
12
15
2
6
25
8
25
7
FIT
1:1
100%

Артикул

Название

Примечание

Количество

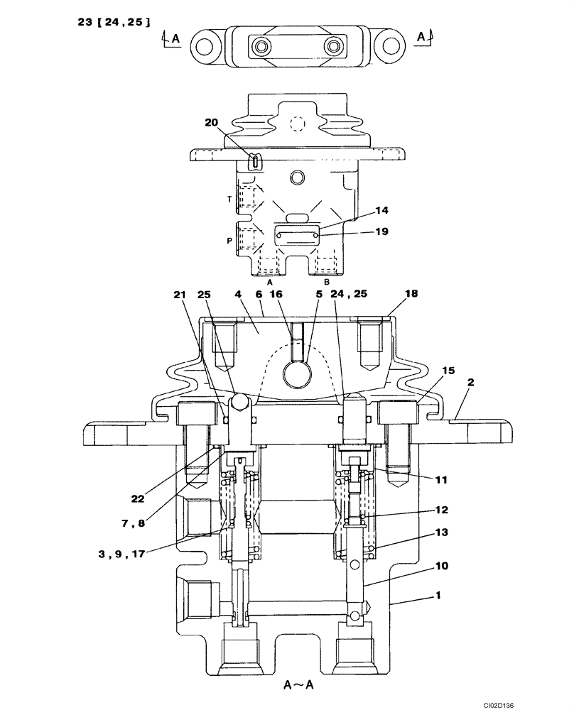
KHJ1986

REMOTE CONTROL VALVE

Incl. 1 - 25

1шт.

1

NSS

NOT SOLD SEPARAT

Body

1шт.

2

LW00298

COVER

1шт.

3

LH00229

SHIM

2шт.

4

LF00029

CAM

1шт.

5

LA00676

SPECIAL PIN

1шт.

6

LQ000330

BELLOWS

Replaces LQ00021

1шт.

7

LH00230

SHIM

2шт.

8

LH00231

SHIM

2шт.

9

LH00232

SHIM

2шт.

10

NSS

NOT SOLD SEPARAT

Spool

2шт.

11

LS00108

HOLDER

2шт.

12

LG00396

COMPRESSION SPRING

2шт.

13

LG00397

COMPRESSION SPRING

2шт.

14

NSS

NOT SOLD SEPARAT

Plate

1шт.

15

108R008Y016N

BOLT

M8 x 16

2шт.

16

152K004Y008N

HEX SOC SCREW

1шт.

17

895-10004

WASHER,M4 x 9 x .8

2шт.

18

895-11008

WASHER,9mm ID x 16mm OD x 1.6mm Thk

2шт.

19

LA00769

RIVET

2шт.

20

160856A1

PIN, ROLL

2шт.

21

154454A1

O-RING

2шт.

22

LE00710

O-RING

2шт.

23

LJ00672

PUSH ROD

Incl. 24, 25

2шт.

24

NSS

NOT SOLD SEPARAT

Tappet

1шт.

25

LPC0269

BALL

1шт.

Выбрано товаров: 26