Запчасти Case CX75SR (08-81) - VALVE ASSY - PILOT CONTROL LINES (08) - HYDRAULICS

Схема запчастей Case CX75SR - (08-81) - VALVE ASSY - PILOT CONTROL LINES (08) - HYDRAULICS
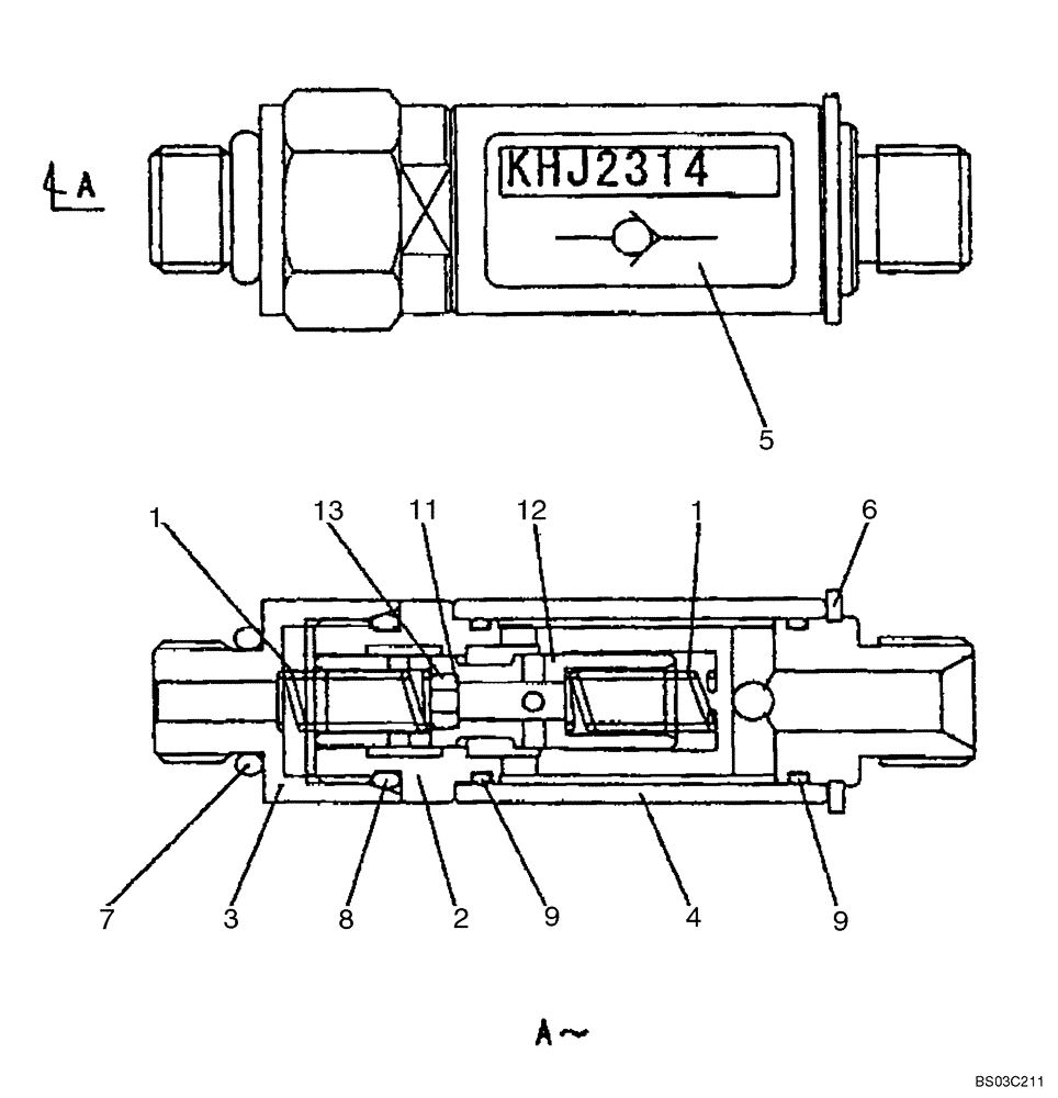
7
13
4
2
5
9
9
8
11
1
3
1
6
12
FIT
1:1
100%

Артикул

Название

Примечание

Количество

KHJ2314

VALVE, CUSHION

Incl. 1 - 13

1шт.

1

LSC0285

COMPRESSION SPRING

2шт.

2

LZC0179

VALVE BODY

1шт.

3

LPC0304

END FITTING

1шт.

4

LPC0305

SLEEVE

1шт.

5

NSS

NOT SOLD SEPARAT

Nameplate

1шт.

6

800-1118

SNAP RING,M18, Ext

1шт.

7

154467A1

O-RING,10.8mm ID x 2.4mm Width

1шт.

8

154483A1

O-RING

1шт.

9

LBC0202

O-RING

2шт.

LJ01082

PLUNGER

Incl. 11 - 13

1шт.

11

NSS

NOT SOLD SEPARAT

Orifice

1шт.

12

NSS

NOT SOLD SEPARAT

Plunger

1шт.

13

NSS

NOT SOLD SEPARAT

Ring

1шт.

Выбрано товаров: 14