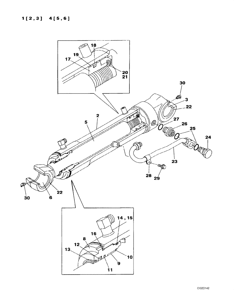
Запчасти Case CX75SR (08-85) - CYLINDER ASSY, OFFSET BOOM (08) - HYDRAULICS

Схема запчастей Case CX75SR - (08-85) - CYLINDER ASSY, OFFSET BOOM (08) - HYDRAULICS
22
3
2
30
5
28
26
19
10
17
18
14
13
25
22
12
20
24
27
21
15
9
16
6
8
4 (5, 6)
23
29
30
11
1 (2, 3)
FIT
1:1
100%

Артикул

Название

Примечание

Количество

KAV2442

HYDRAULIC CYLINDER

Offset Boom; Incl. 1 - 30

1шт.

1

LR00920

HYD CYL SLEEVE

Incl. 2, 3

1шт.

2

NSS

NOT SOLD SEPARAT

Tube, Cylinder

1шт.

3

166834A1

BUSHING

1шт.

4

LB00814

PISTON ROD

Incl. 5, 6

1шт.

5

NSS

NOT SOLD SEPARAT

Rod, Piston

1шт.

6

166834A1

BUSHING

1шт.

8

LU00144

CYLINDER END CAP

1шт.

9

LB00717

BACK-UP RING

1шт.

10

166883A1

RING, SNAP

RING SNAP

1шт.

11

LE00938

SEALING RING

SEALRING Replaces LE00398

1шт.

12

166789A1

SEALING RING

1шт.

13

LAU0195

SEAL

1шт.

14

154705A1

O-RING

1шт.

15

LE00926

BACK-UP RING

1шт.

16

154711A1

O-RING

1шт.

17

LJ00888

JACK PISTON

1шт.

18

160825A1

SEALING RING

SEALRING

1шт.

19

LE00736

RING

2шт.

20

156222A1

SCREW

1шт.

21

155976A1

BALL

1шт.

22

166467A1

SEAL

4шт.

23

LR00775

PIPE

1шт.

24

LK00352

PLUG

1шт.

25

155095A1

O-RING

2шт.

26

LK00353

FITTING

1шт.

27

154487A1

O-RING

1шт.

28

LS00209

COLLAR

1шт.

29

LA00789

BOLT,Spcl

1шт.

30

153912A1

LUBE NIPPLE,90 Degree, 1/8"-27 NPT x 21.5mm lg

2шт.

LZ00472

SEAL KIT

Incl. 11 - 16, 18, 19

1шт.

Выбрано товаров: 31