Запчасти Case CX75SR (02-08) - CYLINDER HEAD (02) - ENGINE

Схема запчастей Case CX75SR - (02-08) - CYLINDER HEAD (02) - ENGINE
10
41
52
1
14
2
4
3
7b
7b
5a
5b
105
13
7c
12
168
7a
7c
119
7d
11
1
9
7b
FIT
1:1
100%

Артикул

Название

Примечание

Количество

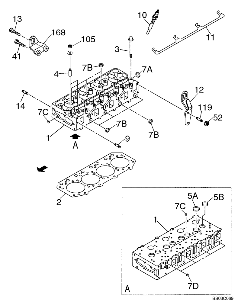
1

86990057

HEAD (CYLINDER)

Incl. 4, 5A, 5B, 7A - 7D

1шт.

2

86990075

GASKET

1,60 mm Thick, One Hole

1шт.

2

86990076

GASKET

1,65 mm Thick, Two Holes

1шт.

2

86990077

GASKET

1,70 mm Thick, Three Holes

1шт.

3

86990078

BOLT

M11 x 122

18шт.

4

353959A1

GUIDE

8шт.

5a

362176A1

SEAT

Intake

4шт.

5b

368499A1

SEAT

Exhaust

4шт.

7a

289074A1

CUP

45 mm dia

1шт.

7b

368501A1

CUP

7шт.

7c

353962A1

PLUG

16 mm dia

3шт.

7d

289414A1

CUP

12,3 mm dia

5шт.

9

86990079

STUD

M8 x 35

1шт.

9

87597208

STUD

Replaces 289762A1

1шт.

10

86990080

GLOW PLUG

4шт.

11

353974A1

CONNECTOR, ELEC

CONNECTOR

1шт.

12

362170A1

HANGER

1шт.

13

288996A1

BOLT

M8 x 25; 10,9

1шт.

14

353976A1

STUD

2шт.

41

288706A1

BOLT

1шт.

52

288709A1

NUT

M8

2шт.

105

353977A1

OIL SEAL

8шт.

119

86990079

STUD

M8 x 35

2шт.

168

86990081

HANGER

1шт.

Выбрано товаров: 0