Запчасти Case CX75SR (09-24) - AIR CONDITIONING SYSTEM (09) - CHASSIS/ATTACHMENTS

Схема запчастей Case CX75SR - (09-24) - AIR CONDITIONING SYSTEM (09) - CHASSIS/ATTACHMENTS
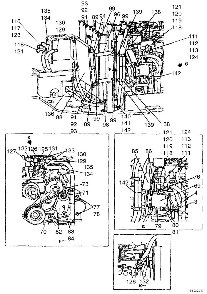
142
124
83
98
139
91
129
119
142
131
135
70
76
92
135
3
112
140
113
93
121
118
120
94
96
127
120
141
133
138
99
121
119
118
91
123
113
134
89
139
124
84
99
126
121
99
134
129
92
118
118
136
99
117
125
88
86
130
77
69
112
130
138
132
71
116
4
111
132
78
142
80
73
82
81
85
89
79
93
126
FIT
1:1
100%

Артикул

Название

Примечание

Количество

3

165405A1

CLIP

1шт.

4

156559A1

BOLT,High Strength, Hex, M6 x 12mm, W/ LW

1шт.

69

KHR3536

COMPRESSOR

1шт.

70

KHR3934

BELT

1шт.

71

KAR0925

PULLEY

1шт.

73

KAR0926

BOLT,Spcl

1шт.

76

162457A1

SPECIAL BOLT,Spcl

2шт.

78

153081A1

WASHER

2шт.

79

KAR1505

SPACER

Replaces KAR1382

1шт.

80

827-8070

BOLT,Hex, M8 x 1.25 x 70mm, Cl 10.9

1шт.

81

153081A1

WASHER

1шт.

82

KAR1458

BRACKET

1шт.

84

153081A1

WASHER

2шт.

85

KAR1487

COVER

1шт.

86

166350A1

BOLT

2шт.

88

KHR3538

CONDENSER

1шт.

89

KHR2593

BRACKET

4шт.

91

827-6050

BOLT,Hex, M6 x 50mm, Cl 10.9

4шт.

92

895-11006

WASHER,6.6mm ID x 12mm OD x 1.6mm Thk

4шт.

93

183-106VR

SPRING WASHER

4шт.

94

KAR1459

BRACKET

2шт.

96

KAR1461

BRACKET

1шт.

98

KAR1463

BRACKET

1шт.

99

166350A1

BOLT

4шт.

111

KHR3935

HOSE

Incl. 112, 113

1шт.

112

KHR3053

CAP

1шт.

113

169053A1

O-RING

1шт.

116

KHR3937

HOSE

Incl. 117

1шт.

117

169054A1

O-RING

2шт.

118

KHR3938

HOSE

Incl. 119, 120

1шт.

119

169052A1

O-RING

1шт.

120

KHR3054

CAP

1шт.

121

166127A1

PLASTIC-RUBBER TUBE

1шт.

123

157769A1

PLASTIC-RUBBER TUBE

1шт.

124

KHR3052

PLASTIC-RUBBER TUBE

1шт.

125

159655A1

ELBOW

1шт.

126

167260A1

ELBOW

1шт.

127

167443A1

SOCKET

1шт.

129

MPR2145

HOSE

1шт.

130

MPR2207

PLASTIC-RUBBER TUBE

1шт.

131

159655A1

ELBOW

1шт.

132

167260A1

ELBOW

1шт.

133

157271A1

CLIP

2шт.

134

MPR2145

HOSE

1шт.

135

MPR2207

PLASTIC-RUBBER TUBE

1шт.

136

KAR1466

SEAL

1шт.

138

152762A1

CLAMP

2шт.

139

166350A1

BOLT

2шт.

140

150860A1

COLLAR

1шт.

141

840-168

SCREW,Pan, M6 x 1 x 8mm, Cl 4.8

1шт.

142

150496A1

MOUNTING CLIP

1шт.

77

627-8030

BOLT,Hex, M8 x 1.25 x 30mm, Cl 10.9, Full Thd

2шт.

83

627-8030

BOLT,Hex, M8 x 1.25 x 30mm, Cl 10.9, Full Thd

2шт.

Выбрано товаров: 53