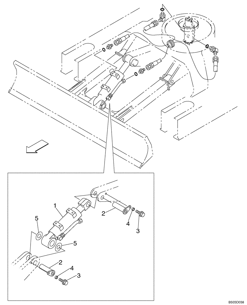
Запчасти Case CX75SR (09-49) - DOZER BLADE CYLINDER MOUNTING (09) - CHASSIS/ATTACHMENTS

Схема запчастей Case CX75SR - (09-49) - DOZER BLADE CYLINDER MOUNTING (09) - CHASSIS/ATTACHMENTS
2
5
2
1
5
3
4
3
4
FIT
1:1
100%

Артикул

Название

Примечание

Количество

1

KAV2085

HYDRAULIC CYLINDER

Dozer Blade; Models Without Load Hold; See Figure 08-92

1шт.

1

KAV2443

HYDRAULIC CYLINDER

Dozer Blade; Models With Load Hold; See Figure 08-93

1шт.

2

KAV2092

PIN

2шт.

3

166052A1

BOLT

2шт.

4

HEV0065

SPACER

2шт.

5

166403A1

WASHER

1шт.

Выбрано товаров: 6