Запчасти Case CX75SR (02-18) - THERMOSTAT AND HOUSING (02) - ENGINE

Схема запчастей Case CX75SR - (02-18) - THERMOSTAT AND HOUSING (02) - ENGINE
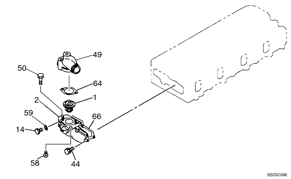
59
14
50
49
1
2
64
66
58
44
FIT
1:1
100%

Артикул

Название

Примечание

Количество

1

86990034

THERMOSTAT

1шт.

2

355239A1

HOUSING

1шт.

14

355240A1

PLUG

1шт.

44

355241A1

BOLT

M8 x 30; 10.9

5шт.

44

288987A1

BOLT

M8 x 70; 10.9

2шт.

49

86990035

PIPE

1шт.

50

355241A1

BOLT

M8 x 30; 10.9

2шт.

58

289415A1

PLUG

3/4 PT

2шт.

59

355245A1

GASKET

1шт.

64

355244A1

GASKET

1шт.

66

86990036

GASKET

1шт.

Выбрано товаров: 11