Запчасти Case CX75SR (03-03) - FUEL LINES (03) - FUEL SYSTEM

Схема запчастей Case CX75SR - (03-03) - FUEL LINES (03) - FUEL SYSTEM
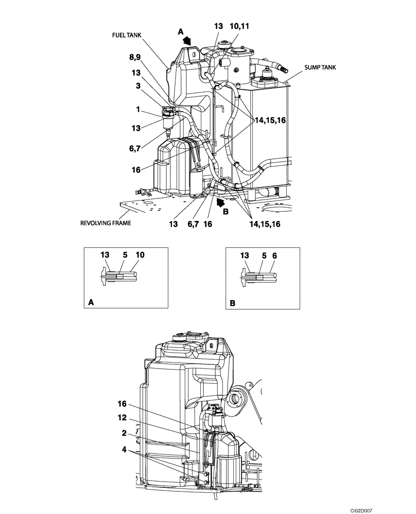
6, 7
6, 7
12
5
16
6
13
8, 9
2
10
13
14, 15, 16
13
10, 11
14, 15, 16
3
16
13
1
16
13
4
13
5
FIT
1:1
100%

Артикул

Название

Примечание

Количество

1

151071A1

WATER TRAP

Water Separator; See Figure 03-05

1шт.

2

KAH1397

BRACKET

1шт.

3

167182A1

BOLT,Sems, M8 x 25mm

2шт.

4

166351A1

BOLT,Sems, M10 x 20mm

2шт.

5

KAH10100

SPACER

Replaces 151470A1

2шт.

6

KHH0487

FUEL HOSE

1шт.

7

158061A1

PLASTIC-RUBBER TUBE

1шт.

8

KHH0435

FUEL HOSE

1шт.

9

158068A1

PLASTIC-RUBBER TUBE

1шт.

10

KHH0486

FUEL HOSE

1шт.

11

KHR3247

PLASTIC-RUBBER TUBE

1шт.

12

157625A1

TUBE,9.5 mm ID, 14.5 mm OD

400mm (15-3/4 in); Cut From 150613A1

1шт.

13

KHH0405

MOUNTING CLIP

4шт.

14

150860A1

COLLAR

6шт.

15

840-168

SCREW,Pan, M6 x 1 x 8mm, Cl 4.8

6шт.

16

150496A1

MOUNTING CLIP

1шт.

Выбрано товаров: 16