Запчасти Case CX75SR (03-07) - FUEL INJECTION PUMP AND DRIVE (03) - FUEL SYSTEM

Схема запчастей Case CX75SR - (03-07) - FUEL INJECTION PUMP AND DRIVE (03) - FUEL SYSTEM
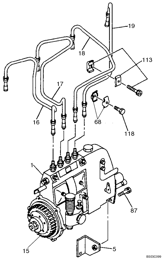
113
5
68
16
19
15
1
17
18
118
87
FIT
1:1
100%

Артикул

Название

Примечание

Количество

1

86990185

PUMP, FUEL INJECTION

PUMP, INJECTION

1шт.

5

86990186

BRACKET

1шт.

15

86990067

COUPLING

See Figure 03-10

1шт.

16

355448A1

PIPE

Injector 1

1шт.

17

355449A1

PIPE

Injector 2

1шт.

18

355450A1

PIPE

Injector 3

1шт.

19

355451A1

PIPE

Injector 4

1шт.

68

355463A1

CLAMP BRACKET

1шт.

68

355462A1

CLIP

1шт.

87

288995A1

BOLT

M8 x 20

1шт.

113

355465A1

CLAMP BRACKET

3шт.

118

355466A1

BOLT

M8 x 18; 10.9

1шт.

136

86990189

CAP

Not Illustrated

1шт.

Выбрано товаров: 13