Запчасти Case CX75SR (03-13) - PUMP - FUEL SYSTEM (03) - FUEL SYSTEM

Схема запчастей Case CX75SR - (03-13) - PUMP - FUEL SYSTEM (03) - FUEL SYSTEM
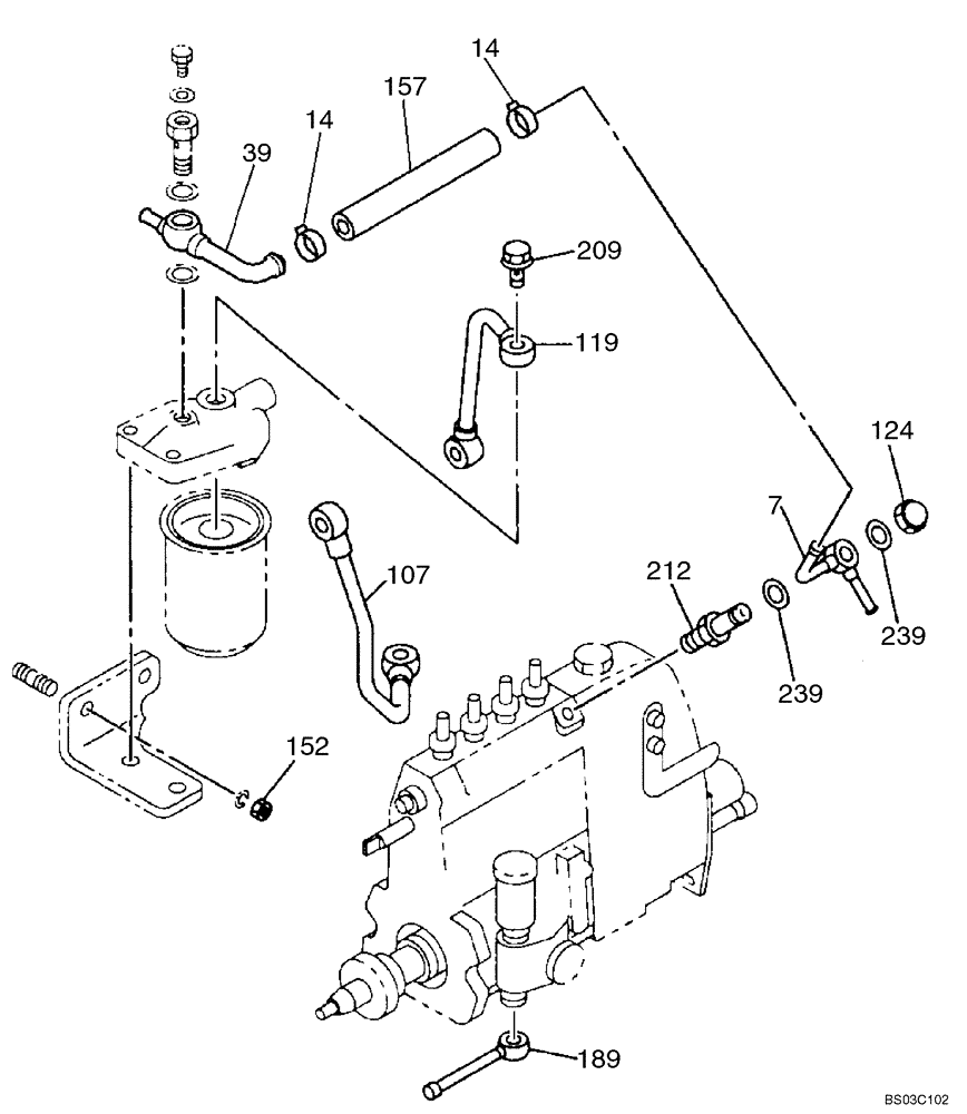
212
124
39
14
107
157
239
152
209
119
239
14
7
189
FIT
1:1
100%

Артикул

Название

Примечание

Количество

7

86990191

PIPE

1шт.

14

86990193

CLIP

2шт.

39

355907A1

PIPE

1шт.

107

355644A1

PIPE

Feed, Serial Range: Pump-Filter

1шт.

119

355645A1

PIPE

Filter To Injection Pump

1шт.

124

86990192

NUT

1шт.

152

289778A1

NUT

2шт.

157

362190A1

HOSE

1шт.

189

426417A1

PIPE

1шт.

209

289843A1

BOLT

M14 x 29

2шт.

212

86987693

VALVE

1шт.

239

289814A1

GASKET

7шт.

Выбрано товаров: 12