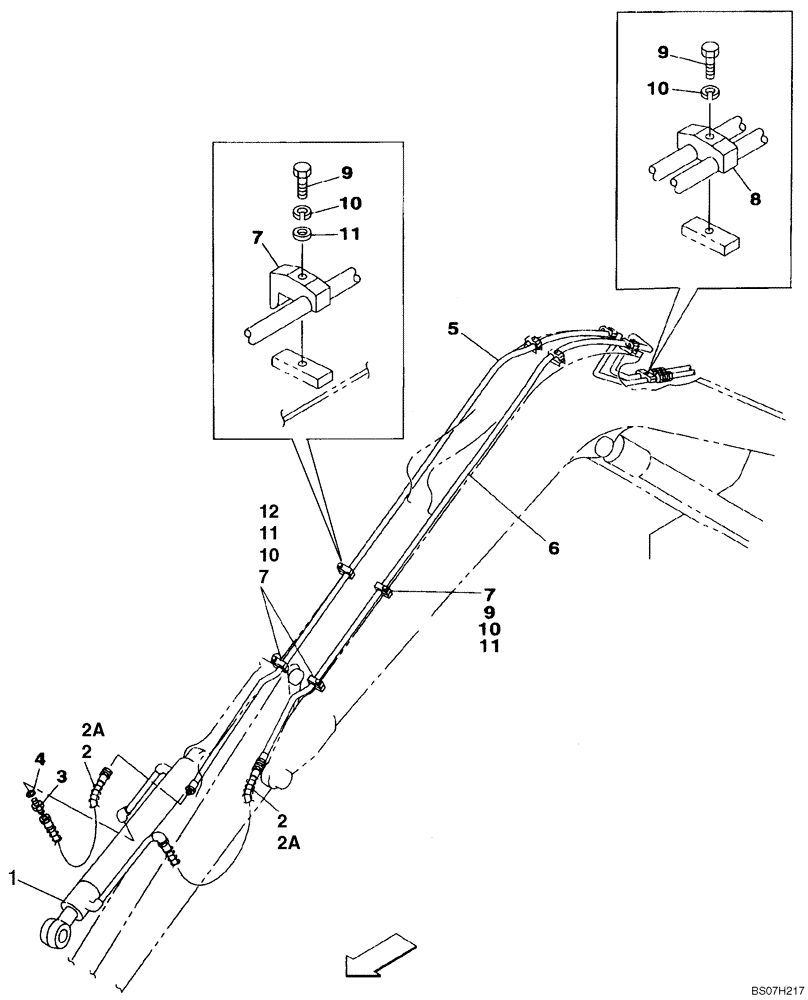
Запчасти Case CX75SR (08-25) - HYDRAULICS - BUCKET, 2,1 METER (6 FT 11 IN) STANDARD ARM (08) - HYDRAULICS

Схема запчастей Case CX75SR - (08-25) - HYDRAULICS - BUCKET, 2,1 METER (6 FT 11 IN) STANDARD ARM (08) - HYDRAULICS
5
10
9
4
11
6
3
2a
7
7
9
1
7
12
2a
11
9
10
2
11
10
8
2
10
FIT
1:1
100%

Артикул

Название

Примечание

Количество

1

KAV2440

BUCKET CYLINDER

Bucket; See Figure 08-90

1шт.

2

KNV1442

HYDRAULIC HOSE,12.70 mm ID x 1320.00 mm

No Longer Used, Order KAV2597, Ref. 2A

2шт.

2a

KAV12520

HYDRAULIC HOSE

Replaces KAV2597

2шт.

3

151650A1

HYD CONNECTOR,1/2" NPT O-Ring x 1/2" NPT

Incl. 4; Used With KNV1442, REF 2

2шт.

4

154487A1

O-RING

2шт.

5

KAV2152

HYD TUBE,16.1 mm ID x 21.7 mm OD

1шт.

6

KAV2153

HYD TUBE,16.1 mm ID x 21.7 mm OD

1шт.

7

166401A1

HALF-FLANGE

4шт.

8

KMJ0835

PIPE CLAMP

1шт.

9

827-12055

BOLT,Hex, M12 x 1.75 x 55mm, Cl 10.9

3шт.

10

183-112VR

SPRING WASHER

5шт.

11

896-11012

WASHER,13.5mm ID x 24mm OD x 3mm Thk

4шт.

12

827-12060

BOLT,Hex, M12 x 1.75 x 60mm, Cl 10.9

2шт.

Выбрано товаров: 13