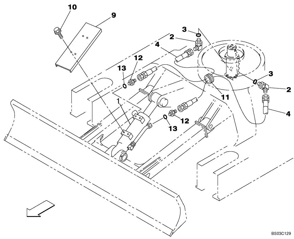
Запчасти Case CX75SR (08-28) - HYDRAULICS - BLADE CYLINDER LINE, MODELS WITHOUT LOAD HOLD (08) - HYDRAULICS

Схема запчастей Case CX75SR - (08-28) - HYDRAULICS - BLADE CYLINDER LINE, MODELS WITHOUT LOAD HOLD (08) - HYDRAULICS
13
12
1
3
9
2
4
11
3
2
12
10
13
4
FIT
1:1
100%

Артикул

Название

Примечание

Количество

1

KAV2085

HYDRAULIC CYLINDER

Dozer Blade; See Figure 08-92

1шт.

2

159367A1

ELBOW

Incl. 3

2шт.

3

154475A1

O-RING

1шт.

4

KAV2096

HYDRAULIC HOSE,9.50 mm ID x 1350.00 mm

2шт.

9

KAV2095

COVER

1шт.

10

167893A1

BOLT

4шт.

11

KEJ0422

GROMMET

1шт.

12

152128A1

HYD CONNECTOR,3/8" NPT O-Ring x 3/8" NPT

Incl. 13

2шт.

13

154475A1

O-RING

1шт.

Выбрано товаров: 9