Запчасти Case CX75SR (08-29) - HYDRAULICS - BLADE CYLINDER LINE, MODELS WITH LOAD HOLD (08) - HYDRAULICS

Схема запчастей Case CX75SR - (08-29) - HYDRAULICS - BLADE CYLINDER LINE, MODELS WITH LOAD HOLD (08) - HYDRAULICS
4
3
3
16
13
2
12
9
12
11
10
13
4
15
2
18
1
17
14
FIT
1:1
100%

Артикул

Название

Примечание

Количество

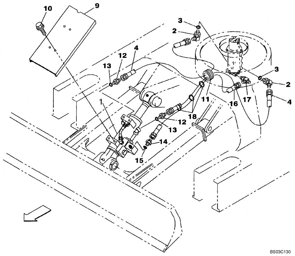
1

KAV2443

HYDRAULIC CYLINDER

Dozer Blade; See Figure 08-93

1шт.

2

150916A1

ELBOW,90 Degree, 3/8" O-Ring x 3/8"

Incl. 3

2шт.

3

154475A1

O-RING

1шт.

4

KAV2096

HYDRAULIC HOSE,9.50 mm ID x 1350.00 mm

2шт.

9

KAV2480

COVER

1шт.

10

167893A1

BOLT

4шт.

11

KEJ0422

GROMMET

1шт.

12

152128A1

HYD CONNECTOR,3/8" NPT O-Ring x 3/8" NPT

Incl. 13

2шт.

13

154475A1

O-RING

1шт.

14

152127A1

HYD CONNECTOR,1/4" NPT O-Ring x 1/4" NPT

Incl. 15

1шт.

15

154467A1

O-RING,10.8mm ID x 2.4mm Width

1шт.

16

KAV2481

HOSE

1шт.

17

163422A1

TEE

1шт.

18

150067A1

MOUNTING CLIP

3шт.

Выбрано товаров: 14