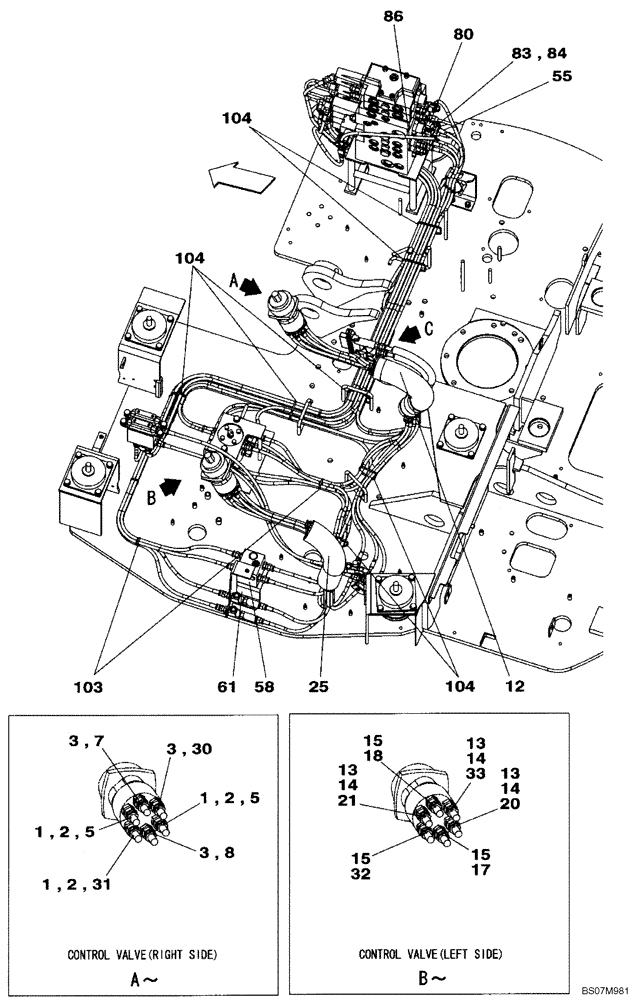
Запчасти Case CX75SR (08-54[01]) - PILOT CONTROL LINES, ATTACHMENT - OPTIONAL (2-WAY) - WITH DOZER BLADE (08) - HYDRAULICS

Схема запчастей Case CX75SR - (08-54[01]) - PILOT CONTROL LINES, ATTACHMENT - OPTIONAL (2-WAY) - WITH DOZER BLADE (08) - HYDRAULICS
104
86
80
25
61
5
20
33
13
2
3
1
14
15
83
1
58
31
3
32
7
15
14
13
84
104
13
2
3
12
55
104
30
21
2
5
14
1
17
8
15
18
103
FIT
1:1
100%

Артикул

Название

Примечание

Количество

1

152127A1

HYD CONNECTOR,1/4" NPT O-Ring x 1/4" NPT

Incl. 2

3шт.

2

154467A1

O-RING,10.8mm ID x 2.4mm Width

1шт.

3

161841A1

HYD CONNECTOR

3шт.

5

KHJ2058

HOSE

6X1550

1шт.

7

KHJ2059

HOSE

6X1650

1шт.

8

KHJ2059

HOSE

6X1650

1шт.

12

KHJ2578

PROTECTOR

1шт.

13

152127A1

HYD CONNECTOR,1/4" NPT O-Ring x 1/4" NPT

Incl. 14

3шт.

14

154467A1

O-RING,10.8mm ID x 2.4mm Width

1шт.

15

161841A1

HYD CONNECTOR

3шт.

17

KHJ2062

HOSE

6X1800

1шт.

18

KHJ2062

HOSE

6X1800

1шт.

20

KHJ2053

HOSE

6X1150

1шт.

21

KHJ2053

HOSE

6X1150

1шт.

25

KHJ2578

PROTECTOR

1шт.

30

KHJ2057

HOSE

6X1450

1шт.

31

KHJ2059

HOSE

6X1650

1шт.

32

KHJ2051

HOSE

6X1050

1шт.

33

KHJ2090

HOSE

6X1000

1шт.

58

KHJ2317

VALVE, CUSHION

See Figure 08 - 44

1шт.

61

KAJ10270

BRACKET

1шт.

80

163814A1

ELBOW

1шт.

83

KHJ2131

TEE

Incl. 84

3шт.

84

154467A1

O-RING,10.8mm ID x 2.4mm Width

1шт.

85

KAJ4701

HYD TUBE,6 mm ID x 8 mm OD

3шт.

86

KHJ2180

HOSE,6.3mm ID x 500mm L

6X500

1шт.

103

150496A1

MOUNTING CLIP

2шт.

104

150498A1

MOUNTING CLIP

9шт.

Выбрано товаров: 28