Запчасти Case CX75SR (08-78) - PUMP ASSY, HYDRAULIC - REGULATOR (08) - HYDRAULICS

Схема запчастей Case CX75SR - (08-78) - PUMP ASSY, HYDRAULIC - REGULATOR (08) - HYDRAULICS
59
31
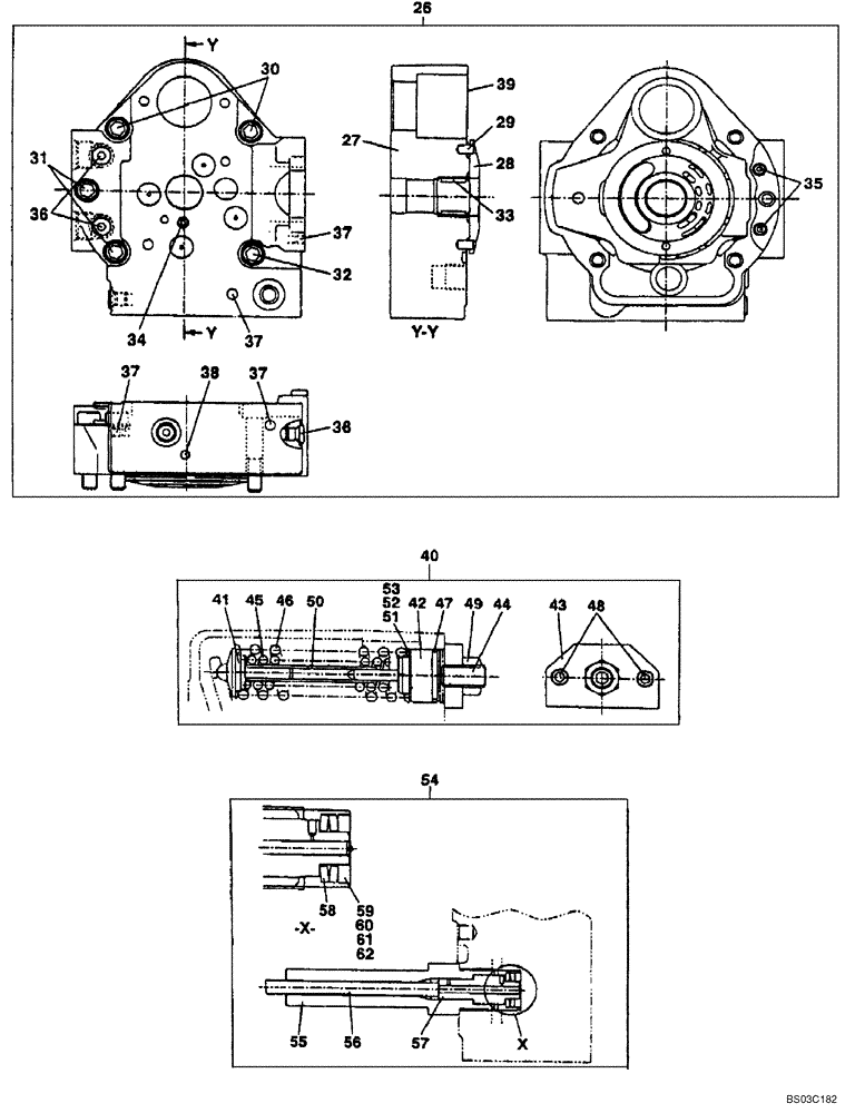
26
41
28
42
51
38
58
35
43
56
38
36
60
29
47
52
37
27
46
54
48
44
40
50
37
37
55
61
33
37
62
39
45
57
32
34
30
49
53
FIT
1:1
100%

Артикул

Название

Примечание

Количество

LW00369

COVER

Kit; Incl. 27, 33, 37, 38

1шт.

26

LW00404

COVER

Incl. 27 - 39

1шт.

27

NSS

NOT SOLD SEPARAT

1шт.

28

LR00987

PLATE

1шт.

29

LA00863

DOWEL

2шт.

30

862-14040

HEX SOC SCREW,M14 x 40mm, Cl 12.9

2шт.

31

108R014Y065R

BOLT

2шт.

32

LA011290

BOLT,Hex Skt Hd

BOLT

1шт.

33

NSS

NOT SOLD SEPARAT

Bearing, Needle

1шт.

34

154451A1

O-RING

1шт.

35

LE00180

RING

2шт.

36

NSS

NOT SOLD SEPARAT

Plug

4шт.

37

NSS

NOT SOLD SEPARAT

Plug

2шт.

38

NSS

NOT SOLD SEPARAT

Plug

1шт.

39

LE01038

GASKET

Packing

1шт.

40

LG00459

SPRING

Nut; Incl. 41 - 53

1шт.

41

LT00131

BAR

Base

1шт.

42

LT00132

BAR

Base

1шт.

43

LW00406

COVER

1шт.

44

LF00039

ADJUSTER

1шт.

45

LG00460

SPRING

1шт.

46

LG00461

SPRING

1шт.

47

154582A1

O-RING

1шт.

48

862-10030

HEX SOC SCREW,M10 x 30mm, Cl 12.9

2шт.

49

162R020VR

NUT

1шт.

50

LS00227

GUIDE

1шт.

51

LH00339

SHIM

2шт.

52

LH00340

SHIM

2шт.

53

LH00341

SHIM

2шт.

54

LJ01037

PISTON

Incl. 55 - 62

1шт.

55

LJ01038

SPOOL

1шт.

56

LJ01039

PISTON

1шт.

57

LJ01040

PISTON

1шт.

58

LG00462

SPRING

4шт.

59

LH00342

SPACER

1шт.

60

LH00343

SPACER

1шт.

61

LH00344

SPACER

1шт.

62

LH00345

SPACER

1шт.

Выбрано товаров: 38