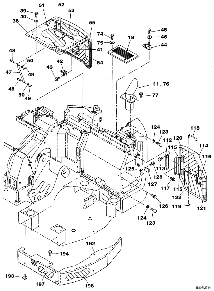
Запчасти Case CX75SR (09-14) - HOOD, ENGINE - ACCESS DOOR (09) - CHASSIS/ATTACHMENTS

Схема запчастей Case CX75SR - (09-14) - HOOD, ENGINE - ACCESS DOOR (09) - CHASSIS/ATTACHMENTS
121
113
50
198
19
45
128
197
49
116
193
119
126
49
48
76
52
54
41
115
44
122
74
123
123
192
115
43
120
50
39
55
46
114
75
42
125
38
11
47
53
117
118
194
124
127
48
112
40
124
51
77
FIT
1:1
100%

Артикул

Название

Примечание

Количество

11

KAN12000

PROTECTOR

1шт.

19

KAN12010Y2

COVER

Replaces KAN12010

1шт.

38

KAN12190Y2

ENGINE HOOD

Replaces KAN12190

1шт.

38

KAN12191

ENGINE HOOD

Replaces KAN12190Y2

1шт.

39

627-10025

BOLT,Hex, M10 x 1.5 x 25mm, Cl 10.9, Full Thd

2шт.

40

151977A1

WASHER

2шт.

41

KHN3442

HANDLE

1шт.

42

HEN0116

LOCK

1шт.

42

KAN15290

LOCK

Replaces HEN0116

1шт.

43

166052A1

BOLT

M10X25

2шт.

44

KAN12180

BRACKET

1шт.

45

627-10025

BOLT,Hex, M10 x 1.5 x 25mm, Cl 10.9, Full Thd

2шт.

46

151977A1

WASHER

2шт.

47

KAN3502

GAS STRUT

1шт.

48

KAJ1482

HEADED PIN

2шт.

49

153077A1

COTTER PIN

2шт.

50

895-11008

WASHER,9mm ID x 16mm OD x 1.6mm Thk

2шт.

51

KAN11630

NOISE PROTECTION

1шт.

52

KAN11620

NOISE PROTECTION

1шт.

53

KAN11610

NOISE PROTECTION

1шт.

54

KAN11600

NOISE PROTECTION

1шт.

55

KAN3420

LINING

1шт.

74

627-10025

BOLT,Hex, M10 x 1.5 x 25mm, Cl 10.9, Full Thd

3шт.

75

151977A1

WASHER

3шт.

76

KAN12000

PROTECTOR

1шт.

77

166052A1

BOLT

M10X25

3шт.

111

166052A1

BOLT

M10X25

2шт.

112

KAN11490

BRACKET

1шт.

113

166052A1

BOLT

M10X25

2шт.

114

KAN11890Y2

COVER

Incl. Ref. 115, 116

1шт.

115

KAN3271

HINGE

2шт.

116

158920A1

LOCK

1шт.

117

166052A1

BOLT

M10X25

2шт.

118

KAN3407

STAY

1шт.

119

153181A1

COTTER PIN

1шт.

120

KAN12240

NOISE PROTECTION

1шт.

121

KAN11740

NOISE PROTECTION

1шт.

122

KAN12250

NOISE PROTECTION

1шт.

123

159091A1

STOP

2шт.

124

829-1410

NUT,M10 x 1.5, Cl 10.9

2шт.

125

KAN11500

BRACKET

1шт.

126

166052A1

BOLT

M10X25

2шт.

127

KAN11510

BRACKET

1шт.

128

166052A1

BOLT

M10X25

2шт.

192

KAN3573Y2

COVER

Incl. Ref. 197, 198

1шт.

193

KHN3452

BOLT,Spcl

4шт.

194

166052A1

BOLT

M10X25

2шт.

197

KAN12860

NOISE PROTECTION

Replaces KAN3414

1шт.

198

KAN12870

NOISE PROTECTION

Replaces KAN3413

1шт.

Выбрано товаров: 49