Запчасти Case CX75SR (09-21) - CAB INSULATION (09) - CHASSIS/ATTACHMENTS

Схема запчастей Case CX75SR - (09-21) - CAB INSULATION (09) - CHASSIS/ATTACHMENTS
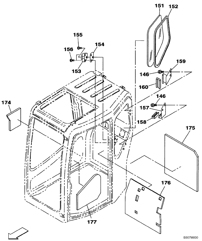
159
158
155
152
160
176
157
174
146
153
177
175
151
146
156
154
FIT
1:1
100%

Артикул

Название

Примечание

Количество

146

KAN1514

SCREW

6шт.

151

KHN3086

GLASS

1шт.

152

KHN3087

RUBBER SEAL

1шт.

153

KHN2680

LATCH HOOK

1шт.

154

KHN3088

PLATE

1шт.

155

KHN3089

SCREW,Spcl

1шт.

156

KHN3090

SCREW,Spcl

2шт.

157

KHN3091

BRACKET

1шт.

158

KHN3092

SPACER

1шт.

159

KHN3093

BRACKET

1шт.

160

KHN3094

SPACER

1шт.

174

KAN3364

FOAM INSULATION

1шт.

175

KAN12310

NOISE PROTECTION

1шт.

176

KHN19110

NOISE PROTECTION

1шт.

177

KHN3020

FOAM INSULATION

1шт.

Выбрано товаров: 15