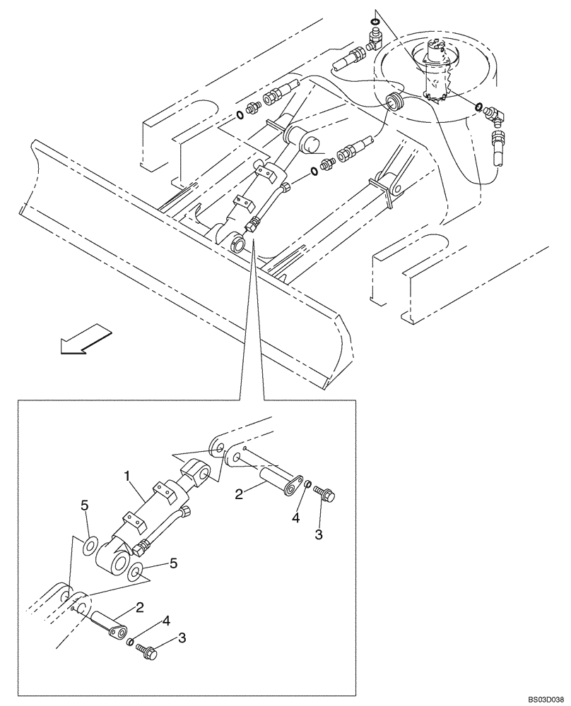
Запчасти Case CX75SR (09-29) - DOZER BLADE CYLINDER MOUNTING (09) - CHASSIS/ATTACHMENTS

Схема запчастей Case CX75SR - (09-29) - DOZER BLADE CYLINDER MOUNTING (09) - CHASSIS/ATTACHMENTS
2
1
4
3
2
5
5
3
4
FIT
1:1
100%

Артикул

Название

Примечание

Количество

1

KAV2085

HYDRAULIC CYLINDER

Dozer Blade; Models Without Load Hold; See Figure 08-51

1шт.

2

KAV10590

PIN

2шт.

3

627-10020

BOLT,Hex, M10 x 1.5 x 20mm, Cl 10.9, Full Thd

2шт.

4

KHV10400

WASHER

2шт.

5

166403A1

WASHER

2шт.

Выбрано товаров: 5