Качественные детали и логистика
Оригинальные и аналоговые запчасти с доставкой по России, Казахстану и Беларуси
©2022 PartSell ООО "Система" ИНН 2463123282 ОГРН 1212400004838
Центральный офис: г. Красноярск, Академика Киренского, д.87, пом.4
Телефон: 8 (800) 777-65-74 Email: zakaz@partsell.ru
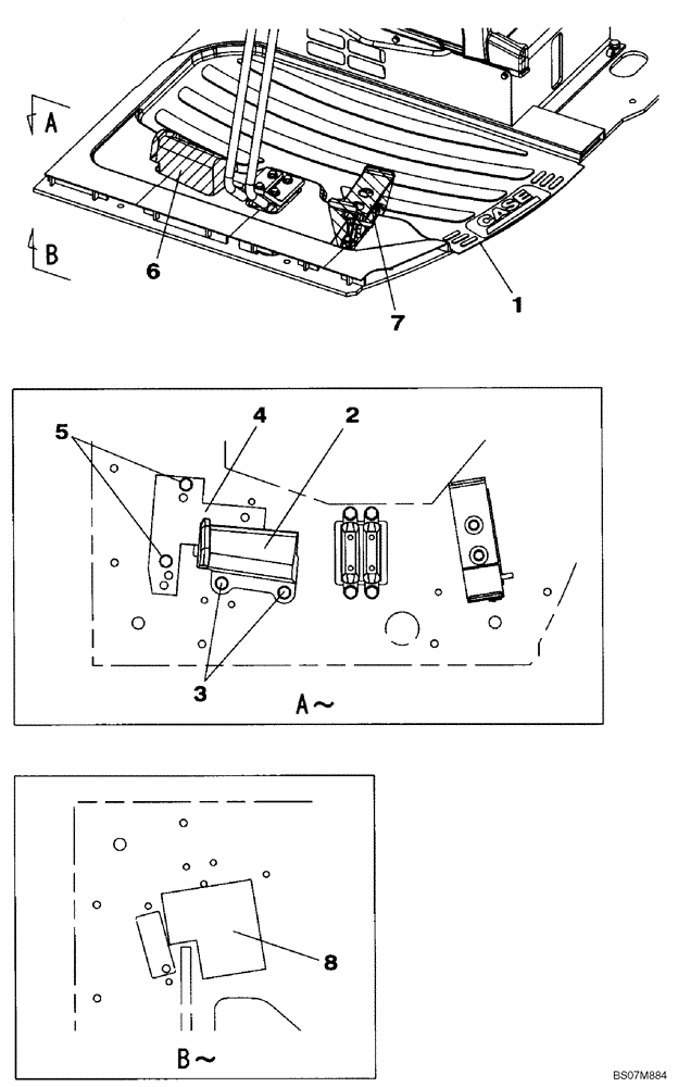
(09-31) - OPERATORS COMPARTMENT - MAT, FLOOR (SMALL FLOW)
№
Артикул
Название
Примечание
Количество
1
KHJ18730
FLOOR MAT
1шт.
2
KHJ1638
FOOT REST
R
3
166052A1
BOLT
M10 X 25
2шт.
4
KHJ2295
COVER
5
166346A1
BOLT,Sems, M10
M10 X 16
6
KHP1400
7
163782A1
SKIRT COVER
8
KHJ2405
SEAL
Выбрано товаров: 0