Качественные детали и логистика
Оригинальные и аналоговые запчасти с доставкой по России, Казахстану и Беларуси
©2022 PartSell ООО "Система" ИНН 2463123282 ОГРН 1212400004838
Центральный офис: г. Красноярск, Академика Киренского, д.87, пом.4
Телефон: 8 (800) 777-65-74 Email: zakaz@partsell.ru
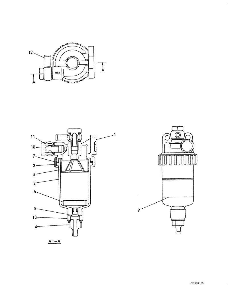
(03-04) - WATER SEPARATOR ASSY
№
Артикул
Название
Примечание
Количество
151071A1
WATER TRAP
Water Separator; Incl. 1 - 13
1шт.
1
156289A1
FILTER HEAD
2
156240A1
FILTER BOWL
3
156184A1
RING NUT
4
155467A1
PLUG, DRAIN
5
156291A1
PLATE
6
156290A1
FLOAT
7
155175A1
O-RING
8
154462A1
9
NSS
NOT SOLD SEPARAT
Decal
10
156185A1
BANJO BOLT
2шт.
11
155297A1
GASKET
4шт.
12
156292A1
FITTING
13
155353A1
PLUG
Выбрано товаров: 0