Запчасти Case CX75SR (04-11) - BATTERIES (04) - ELECTRICAL SYSTEMS

Схема запчастей Case CX75SR - (04-11) - BATTERIES (04) - ELECTRICAL SYSTEMS
8
2
12
5
15
12
14
1
15
3
9
4
16
13
13
6
7
11
FIT
1:1
100%

Артикул

Название

Примечание

Количество

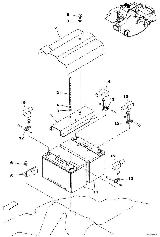
1

KAR10500

BATTERY TRAY

1шт.

2

152821A1

BOLT,Spcl, Hex, M10 x 270mm

M10X270

2шт.

3

150409A1

WASHER

2шт.

4

892-11010

LOCK WASHER,M10

2шт.

5

KAR10520

BRACKET

1шт.

6

166351A1

BOLT,Sems, M10 x 20mm

M10X20

2шт.

7

KAR10820

RUBBER PAD

1шт.

8

KMN1330

BOLT

1шт.

9

150409A1

WASHER

1шт.

11

KHR3363

BATTERY, WET

BATTERY WET

2шт.

12

158403A1

TERMINAL CONNECTOR

2шт.

13

150455A1

TERMINAL CONNECTOR

2шт.

14

150360A1

CAP

1шт.

15

KHR2636

CAP

2шт.

16

166117A1

DUST CAP

1шт.

Выбрано товаров: 15