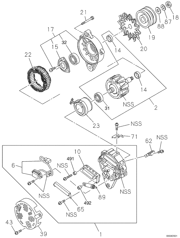
Запчасти Case CX75SR (04-17) - ALTERNATOR (04) - ELECTRICAL SYSTEMS

Схема запчастей Case CX75SR - (04-17) - ALTERNATOR (04) - ELECTRICAL SYSTEMS
nss
19
22
39
71
23
65
18
491
88
32
21
89
2
nss
20
14
1
17
10
nss
492
nss
62
15
6
nss
31
nss
nss
14
43
87
FIT
1:1
100%

Артикул

Название

Примечание

Количество

87714518

ALTERNATOR

1шт.

1

84123477

COVER, Incl. 6, 10, 65, 89, 491, 492

1шт.

2

84123478

ROTOR, Incl 14, 31

1шт.

6

426228A1

CAPACITOR

1шт.

10

84123482

REGULATOR

REGULATOR

1шт.

14

84123484

COLLAR

2шт.

15

84123485

RETAINER

1шт.

17

84123486

COVER, Incl 15, 32

1шт.

18

426219A1

NUT

1шт.

19

84123487

PULLEY

PULLEY

1шт.

20

84123491

FAN

1шт.

21

84123492

BOLT

3шт.

22

84123493

STARTER

1шт.

23

84123494

COIL

1шт.

31

84123479

BEARING

1шт.

32

84123480

BEARING

1шт.

39

84123495

COVER

1шт.

43

426224A1

SCREW

3шт.

62

84123498

CLIP

CLIP

1шт.

65

84123483

COVER

REGULATOR

1шт.

71

426229A1

COMMUTATOR BRUSH

HOLDER, BRUSH

1шт.

87

426231A1

WASHER

1шт.

88

426232A1

WASHER

1шт.

89

84123481

TERMINAL

1шт.

491

84123496

BUSHING

1шт.

492

84123497

BUSHING

1шт.

Выбрано товаров: 0