Запчасти Case CX80 (08-59) - PUMP ASSY, HYDRAULIC - DRIVE (08) - HYDRAULICS

Схема запчастей Case CX80 - (08-59) - PUMP ASSY, HYDRAULIC - DRIVE (08) - HYDRAULICS
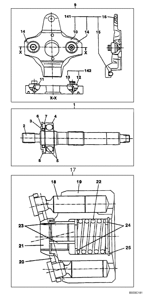
14
9
7
14
24
141
1
15
17
19
4
16
5
13
12
142
8
18
21
3
25
20
23
11
6
10
22
2
FIT
1:1
100%

Артикул

Название

Примечание

Количество

KAJ4955

HYDRAULIC PUMP

Includes Parts on Figure(s) 08-58 - 08-62

1шт.

87341992

REMAN-HYD PUMP

Remanufactured, HYDRAULIC PUMP, For N.A. Only

1шт.

87341994

CORE-HYDRAULIC PUMP

Return Number, For N.A. Only

1шт.

1

LB00874

SHAFT

Incl. 2 - 8

1шт.

2

LB00875

SHAFT

1шт.

3

NSS

NOT SOLD SEPARAT

Housing

1шт.

4

800-1135

SNAP RING,M35, Ext

2шт.

5

NSS

NOT SOLD SEPARAT

Seal, Oil

1шт.

LE00979

OIL SEAL

Kit; Incl. 6

1шт.

6

LBQ5151

O-RING

1шт.

7

800-2180

SNAP RING,M80, Int

1шт.

8

LB00862

BALL BEARING

1шт.

9

LR00985

PLATE

Incl. 10 - 16

1шт.

10

NSS

NOT SOLD SEPARAT

Plate

1шт.

11

LS00223

GUIDE

1шт.

LS00186

GUIDE

Kit; Incl. 12, 13

1шт.

12

NSS

NOT SOLD SEPARAT

Guide

1шт.

13

NSS

NOT SOLD SEPARAT

Ring, Piston

1шт.

14

NSS

NOT SOLD SEPARAT

Plug

1шт.

15

NSS

NOT SOLD SEPARAT

Pin

1шт.

16

NSS

NOT SOLD SEPARAT

Bushing

1шт.

LR00817

PLATE ASSY.

Incl. 10, 14, 15, 16

1шт.

17

LZ00547

REPAIR KIT

Incl. 18 - 25

1шт.

18

NSS

NOT SOLD SEPARAT

Piston

10шт.

19

LS00225

BLOCK ASSY.

1шт.

20

LH00338

RETAINER

1шт.

21

LS00226

GUIDE

1шт.

22

LG00458

SPRING

1шт.

23

LMP0170

PIN

3шт.

24

LT00025

BAR

2шт.

25

LA00862

RING

Lock

1шт.

141

LR00817

PLATE ASSY.

Incl. 10, 14, 15, 16

1шт.

Выбрано товаров: 32