Запчасти Case CX80 (08-60) - PUMP ASSY, HYDRAULIC - REGULATOR (08) - HYDRAULICS

Схема запчастей Case CX80 - (08-60) - PUMP ASSY, HYDRAULIC - REGULATOR (08) - HYDRAULICS
30
61
56
62
59
44
31
37
34
36
51
52
39
54
38
57
53
33
28
37
48
43
46
37
50
27
29
60
41
45
35
47
49
32
55
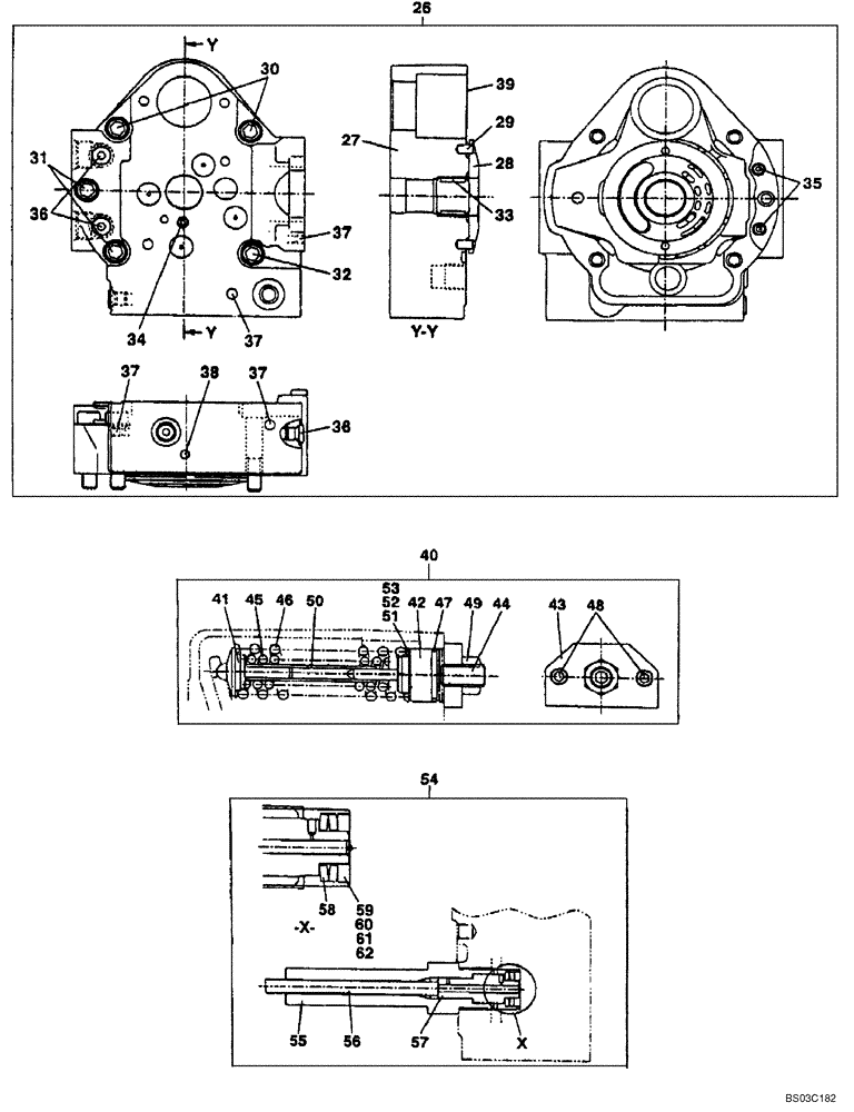
26
38
40
37
58
42
FIT
1:1
100%

Артикул

Название

Примечание

Количество

KAJ4955

HYDRAULIC PUMP

Includes Parts on Figure(s) 08-58 - 08-62

1шт.

87341992

REMAN-HYD PUMP

Remanufactured, HYDRAULIC PUMP, For N.A. Only

1шт.

87341994

CORE-HYDRAULIC PUMP

Return Number, For N.A. Only

1шт.

26

LW00404

COVER

Incl. 27 - 39

1шт.

27

NSS

NOT SOLD SEPARAT

1шт.

28

LR00987

PLATE

1шт.

29

LA00863

DOWEL

2шт.

30

862-14040

HEX SOC SCREW,M14 x 40mm, Cl 12.9

2шт.

31

108R014Y065R

BOLT

2шт.

32

LA00864

BOLT,Hex Skt Hd

1шт.

33

NSS

NOT SOLD SEPARAT

Bearing, Needle

1шт.

34

154451A1

O-RING

1шт.

35

LE00180

RING

2шт.

36

NSS

NOT SOLD SEPARAT

Plug

4шт.

37

NSS

NOT SOLD SEPARAT

Plug

2шт.

38

NSS

NOT SOLD SEPARAT

Plug

1шт.

39

NSS

NOT SOLD SEPARAT

Packing

1шт.

LW00369

COVER

Kit; Incl. 27, 33, 37, 38

1шт.

40

LG00459

SPRING

Nut; Incl. 41 - 53

1шт.

41

LT00131

BAR

Base

1шт.

42

LT00132

BAR

Base

1шт.

43

LW00406

COVER

1шт.

44

LF00039

ADJUSTER

1шт.

45

LG00460

SPRING

1шт.

46

LG00461

SPRING

1шт.

47

154582A1

O-RING

O-ring

1шт.

48

108R010Y030R

BOLT

2шт.

49

162R020VR

NUT

1шт.

50

LS00227

GUIDE

1шт.

51

LH00339

SHIM

2шт.

52

LH00340

SHIM

2шт.

53

LH00341

SHIM

2шт.

54

LJ01037

PISTON

Incl. 55 - 62

1шт.

55

LJ01038

SPOOL

1шт.

56

LJ01039

PISTON

1шт.

57

LJ01040

PISTON

1шт.

58

LG00462

SPRING

4шт.

59

LH00342

SPACER

1шт.

60

LH00343

SPACER

1шт.

61

LH00344

SPACER

1шт.

62

LH00345

SPACER

1шт.

Выбрано товаров: 41