Запчасти Case CX80 (08-72) - CONTROL VALVE (KAJ5076) 4 OF 8 (08) - HYDRAULICS

Схема запчастей Case CX80 - (08-72) - CONTROL VALVE (KAJ5076) 4 OF 8 (08) - HYDRAULICS
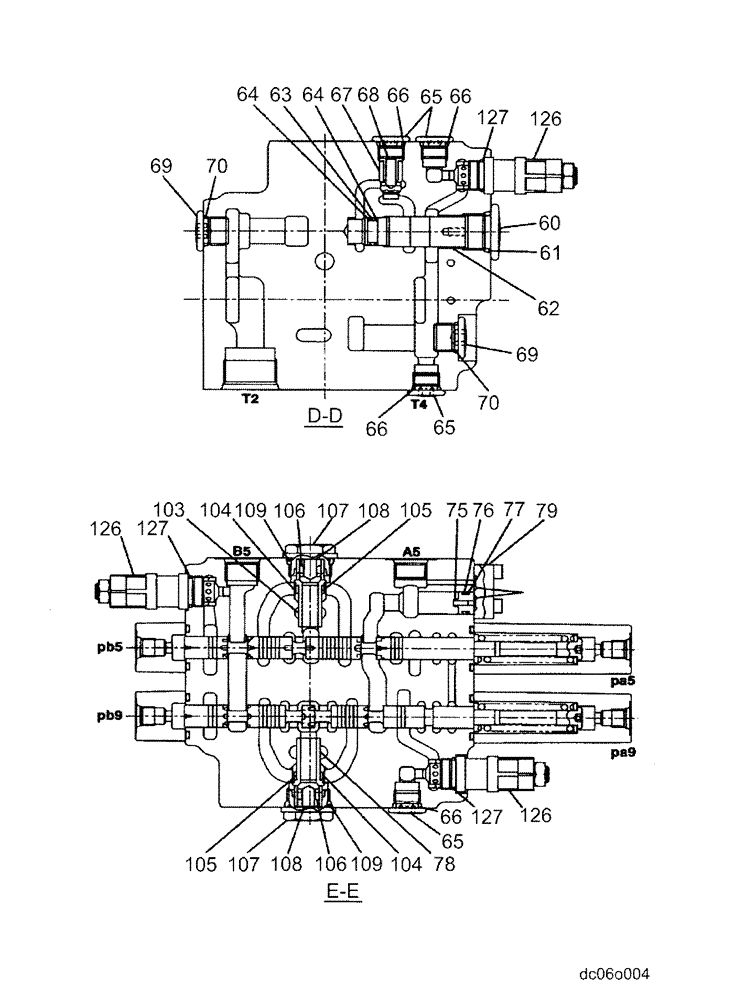
67
106
68
109
66
64
109
104
106
79
76
63
65
126
78
60
108
108
66
103
69
66
64
65
105
126
61
70
70
77
107
66
105
127
75
62
127
65
127
107
69
104
126
FIT
1:1
100%

Артикул

Название

Примечание

Количество

KAJ5076

CONTROL VALVE

1шт.

60

163970A1

PLUG

Incl. 61

1шт.

61

154503A1

O-RING

1шт.

62

LH00310

SLEEVE VALVE

1шт.

63

154483A1

O-RING

1шт.

64

153967A1

BACK-UP RING

2шт.

65

163369A1

PLUG

14шт.

66

154475A1

O-RING

14шт.

67

LJ00914

POPPET

Incl. 66

1шт.

68

166976A1

SPRING

1шт.

69

163370A1

PLUG

Incl. 70

7шт.

70

154487A1

O-RING

7шт.

75

166853A1

SPACER

2шт.

76

155062A1

O-RING

2шт.

77

154402A1

BACK-UP RING

2шт.

78

LH00311

SLEEVE VALVE

1шт.

79

LR00830

PLATE

1шт.

103

166852A1

SLEEVE

1шт.

104

166936A1

VALVE POPPET

3шт.

105

166973A1

SPRING

3шт.

106

TPC0004

VALVE POPPET

2шт.

107

166839A1

PLUG

3шт.

108

TSC0004

SPRING

2шт.

109

154503A1

O-RING

4шт.

126

KAJ4876

HYDRAULIC VALVE

Incl. 127

7шт.

127

155222A1

O-RING

7шт.

Выбрано товаров: 0