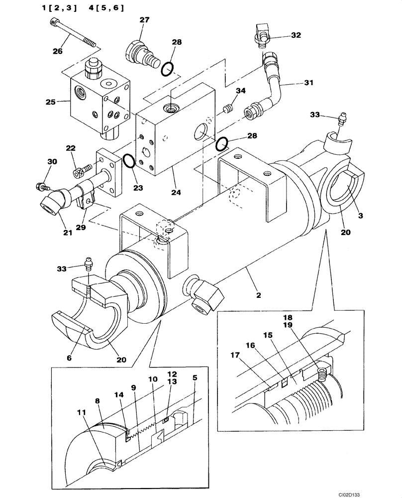
Запчасти Case CX80 (08-96) - CYLINDER ASSY, DOZER BLADE - MODELS WITH LOAD HOLD (08) - HYDRAULICS

Схема запчастей Case CX80 - (08-96) - CYLINDER ASSY, DOZER BLADE - MODELS WITH LOAD HOLD (08) - HYDRAULICS
26
33
21
20
3
33
5
2
13
24
23
20
34
22
17
3
2
15
32
27
11
10
29
12
19
28
14
16
1
6
31
18
4
28
8
25
30
5
6
9
FIT
1:1
100%

Артикул

Название

Примечание

Количество

KAV2443

HYDRAULIC CYLINDER

Dozer Blade; Incl. 1 - 34

1шт.

1

LR00922

HYD CYL SLEEVE

Incl. 2, 3

1шт.

2

NSS

NOT SOLD SEPARAT

Tube, Cylinder

1шт.

3

166834A1

BUSHING

1шт.

4

LB00720

PISTON ROD

Incl. 5, 6

1шт.

5

NSS

NOT SOLD SEPARAT

Rod, Piston

1шт.

6

168234A1

BUSHING

1шт.

8

LU00149

CYLINDER END CAP

1шт.

9

LB00722

BACK-UP RING

1шт.

10

168230A1

SEALING RING

1шт.

11

168232A1

WIPER SEAL

1шт.

12

154713A1

O-RING

1шт.

13

LE00492

O-RING

1шт.

14

154719A1

O-RING

1шт.

15

LJ00892

JACK PISTON

1шт.

16

160823A1

SEALING RING

SEALRING

1шт.

17

LE00943

GUIDE RING

2шт.

18

156222A1

SCREW

1шт.

19

155976A1

BALL

1шт.

20

166467A1

SEAL

4шт.

21

LR00924

PIPE

1шт.

22

861-8025

HEX SOC SCREW,M8 x 25mm, Cl 12.9

4шт.

23

154499A1

O-RING

1шт.

24

LR00925

VALVE BLOCK

1шт.

25

LJ00843

CHECK VALVE

1шт.

26

863-8080

HEX SOC SCREW,M8 x 80mm, Cl 12.9

4шт.

27

LK00352

PLUG

1шт.

28

155095A1

O-RING

2шт.

29

LS00209

COLLAR

1шт.

30

LA00789

BOLT,Spcl

1шт.

31

LK00401

HOSE

1шт.

32

LK00402

FITTING

1шт.

33

153630A1

LUBE NIPPLE

2шт.

34

TLU0003

PLUG

1шт.

LZ00474

SEAL KIT

Incl. 10 - 14, 16, 17

1шт.

Выбрано товаров: 35