Запчасти Case CX80 (02-09) - CYLINDER BLOCK (02) - ENGINE

Схема запчастей Case CX80 - (02-09) - CYLINDER BLOCK (02) - ENGINE
23b
1
23a
45
1
103
450
63
23c
483
22
40b
1
22
53
21a
1
21b
25a
199
23d
218
50
69
4
8
13
1
15
7
97
223
453
54
40a
25b
15
FIT
1:1
100%

Артикул

Название

Примечание

Количество

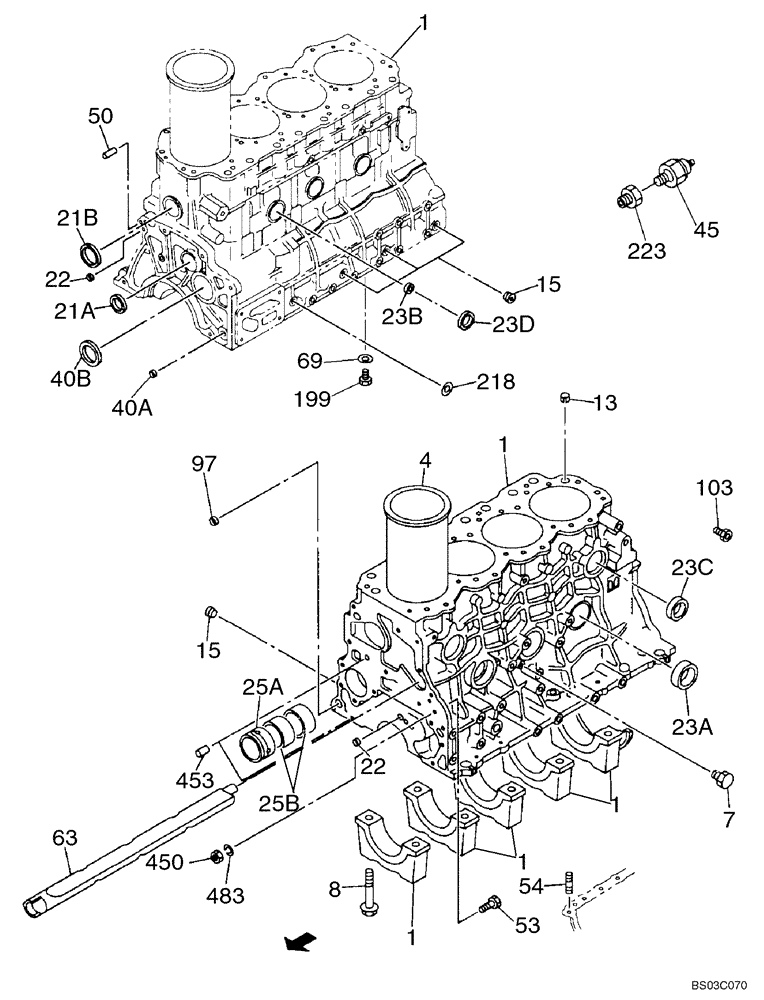
1

86990059

CYLINDER BLOCK

Incl. 4, 8, 21A, 21B, 22, 23A - 23C, 25A, 25B, 69, 199

1шт.

4

86990086

SLEEVE CYLINDER

4шт.

7

355138A1

PLUG

Water Drain

1шт.

8

353948A1

BOLT

10шт.

13

355142A1

DOWEL

Block To Head

2шт.

15

362175A1

PLUG

Oil Galley, 1/8 PT

3шт.

21a

355145A1

RING

38 mm OD

1шт.

21b

355144A1

RING

36 mm OD

1шт.

22

289414A1

CUP

12,3 mm OD

1шт.

23a

289074A1

CUP

45 mm OD

3шт.

23b

359866A1

CUP

18 mm OD

3шт.

23c

362152A1

CUP

32 mm OD

2шт.

23d

355144A1

RING

36 mm OD

3шт.

25a

87691637

BUSHING

Front, Replaces 86990087

1шт.

25b

87691649

BUSHING

Center, Replaces 86990088

2шт.

40a

353962A1

PLUG

16 mm OD

2шт.

40b

355156A1

RING

56 mm OD

1шт.

45

360138A1

SWITCH

Oil Pressure

1шт.

50

355151A1

DOWEL

10 mm OD

1шт.

53

355152A1

BOLT

1шт.

54

86990082

STUD

8шт.

63

86990083

DUCT

1шт.

69

355158A1

GASKET

1шт.

97

357413A1

RING

15,6 mm OD

1шт.

103

359867A1

NIPPLE, LUBE

NIPPLE

1шт.

199

355157A1

PLUG

M16 x 12

1шт.

218

289810A1

PACKING

1шт.

223

86990085

FITTING

1шт.

450

355159A1

NUT

1шт.

453

355153A1

DOWEL

10 mm OD

1шт.

483

289783A1

LOCK WASHER

1шт.

Выбрано товаров: 31