Запчасти Case CX80 (09-33) - CAB (09) - CHASSIS/ATTACHMENTS

Схема запчастей Case CX80 - (09-33) - CAB (09) - CHASSIS/ATTACHMENTS
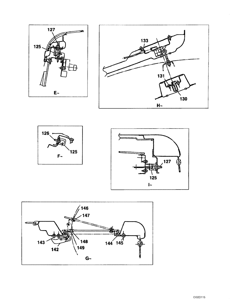
133
145
149
125
144
126
125
127
127
125
143
131
146
148
147
142
130
FIT
1:1
100%

Артикул

Название

Примечание

Количество

125

KAN2687

STRIKER PLATE

3шт.

126

KAN2771

BOLT,Spcl

2шт.

127

KAN2633

BOLT,Spcl

4шт.

130

KAN2772

LOCK

1шт.

131

KAN2641

SCREW,Spcl

2шт.

133

KAN2774

CLIP

1шт.

142

KHN3083

HANDLE

1шт.

143

KHN3084

SCREW,Spcl

2шт.

144

KHN3085

HINGE

2шт.

145

KAN1514

SCREW

4шт.

146

KAN2717

SPECIAL NUT

3шт.

147

KAN2692

PACKING

3шт.

148

KAN2623

WASHER

3шт.

149

KAN1530

SCREW

3шт.

Выбрано товаров: 14